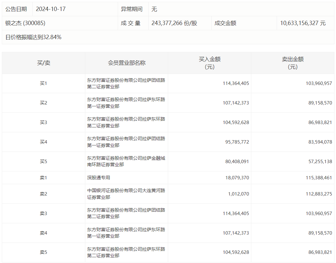
龙虎榜 | 银之杰今日跌0.09%,深股通专用席位买入1807.94万元并卖出1.15亿元

银之杰今日跌0.09%,成交额106.33亿元,换手率38.34%,盘后龙虎榜数据显示,深股通专用席位买入1807.94万元并卖出1.15亿元,“拉萨天团”包揽买方席位,陈小群席位净卖出1.12亿元。

 

未经正式授权严禁转载本文,侵权必究。

银之杰

  • 机构风向标 | 银之杰(300085)2025年三季度已披露前十大机构持股比例合计下跌1.74个百分点
  • 银之杰(300085.SZ):2025年三季报净利润为-5940.13万元

评论

暂无评论哦,快来评价一下吧!