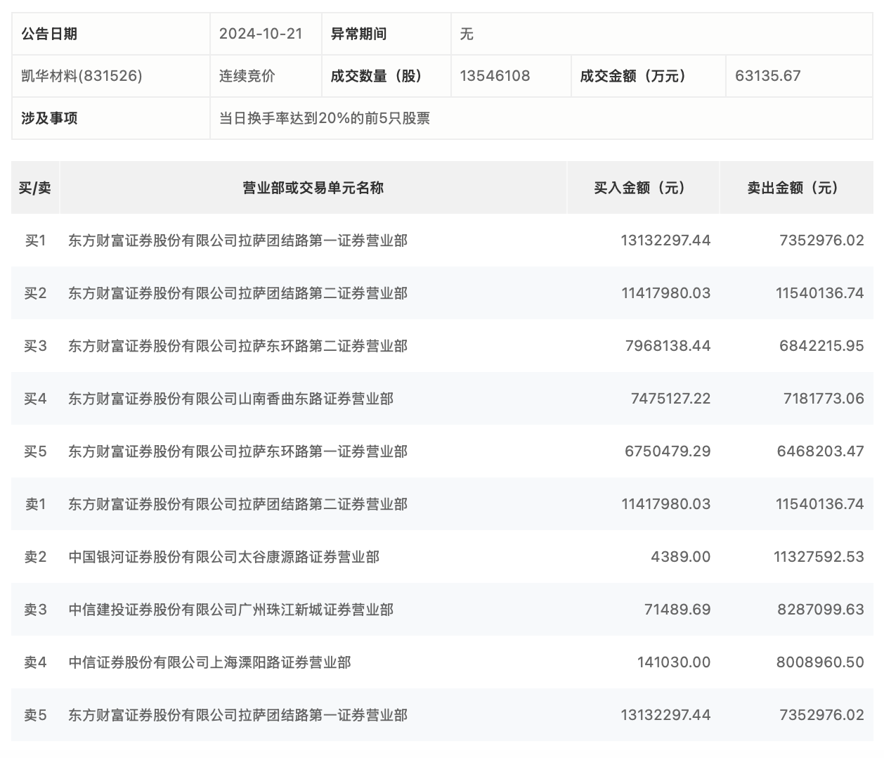
10月21日,凯华材料今日涨停,龙虎榜数据显示,上榜营业部席位全天成交1.14亿元,占当日总成交金额比例为18.05%。其中,买入金额为4696.09万元,卖出金额为6700.9万元,合计净卖出2004.8万元。
具体来看,知名游资现身龙虎榜,孙哥(中信证券股份有限公司上海溧阳路证券营业部)净卖出786.79万元。此外,东方财富证券拉萨团结路第一证券营业部、东方财富证券拉萨团结路第二证券营业部分别买入1313.23万元、1141.80万元;东方财富证券拉萨团结路第二证券营业部、中国银河证券太谷康源路证券营业部分别卖出1154.01万元、1132.76万元。

评论