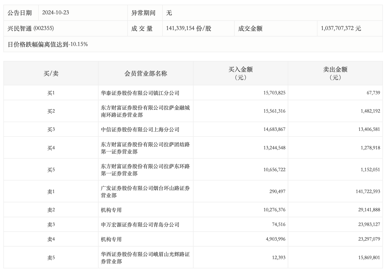
10月23日,兴民智通今日跌停,龙虎榜数据显示,上榜营业部席位全天成交3.37亿元,占当日总成交金额比例为32.46%。其中,买入金额为8540.81万元,卖出金额为2.51亿元,合计净卖出1.66亿元。
具体来看,机构买入1518.04万元,卖出5243.9万元,合计净卖出3725.86万元。此外,广发证券烟台环山路证券营业部、申万宏源证券有限公司青岛分公司分别卖出1.42亿元、2398.31万元;华泰证券镇江分公司、东方财富证券拉萨金融城南环路证券营业部分别买入1570.38万元、1556.13万元。

评论