前两年甚至是今年,你一定听说,周边有人辞职去做自媒体了,公司成立新媒体小组着手做起公司的自媒体了。自媒体势头足后劲猛,将不少人卷入了这股浪潮。没错,受幸于自媒体这股浪潮,小编也成为了这新兴产业中的一员,运营着您正在关注的这个自媒体。
为什么自媒体火得不像话,当然有它的理由。低门槛的参与,优质内容的引爆,粉丝经济的快速变现,发声自由且职业自由,“咪蒙”、“papi酱”、“金融八卦女”等自媒体的成功,让不少人纷纷踏入这个圈子,而在这个圈子里,几百万粉丝,阅读量100000+,成为不少自媒体人向往的数字。
300万粉丝的大号也有可能毁于一旦
就如互联网泡沫不知道什么时候会破裂给人带来的不安一样,自媒体人也时时会有这种焦虑,这种焦虑感一方面源自于内容输出的瓶颈,一方面来自于对自媒体平台的过度依赖。
对于平台的过度依赖不仅仅是担心有一天这个平台不复存在,而是这个平台拥有自媒体的“生杀权”,当然平台不会无凭无据决定自媒体号的生死,但只要他人有证据证明这个IP归其所有,你就有可能面临被强制注销的处境。

这个证据可能就是商标。
2016年7月,已拥有300万粉丝的微信公众号“读悦文摘”被强行注销账号,原因是侵犯了“读者文摘”的商标权。“读悦文摘”原名读者文摘,遭到“读者”第一次投诉后,将当时的“读者文摘”才更名为“读悦文摘”,除更名外,读悦文摘并未做实质性改变,对外发声仍是“读者文摘微信版”。最终事件以“读悦文摘”的撤号作结确实让读者文摘解了恨,但同时也让不少人深觉惋惜。300万粉丝的大号毁于一旦,竟源自于知识产权意识的淡薄。
32个“papi酱”和114个“咪蒙”
就像不少创业者在创业初期没有意识到注册商标的重要性一样,自媒体人在运营之初也大多没有注册商标,而是等到颇有知名度后才开始保护自己的IP,加入到众多商家抢注的队列当中去了。
就拿papi酱和咪蒙为例。
目前申请“papi酱”商标的记录有32条,papi酱所在的北京春雨听雷网络科技有限公司只是对“papi”进行了注册,日期为2016年6月,最早申请“papi”的是2016年4月。暂时没有找到春雨听雷公司对“papi酱”商标进行注册的记录。

(papi酱所在公司对“papi”进行了注册)

(其他公司抢注“papi酱”)
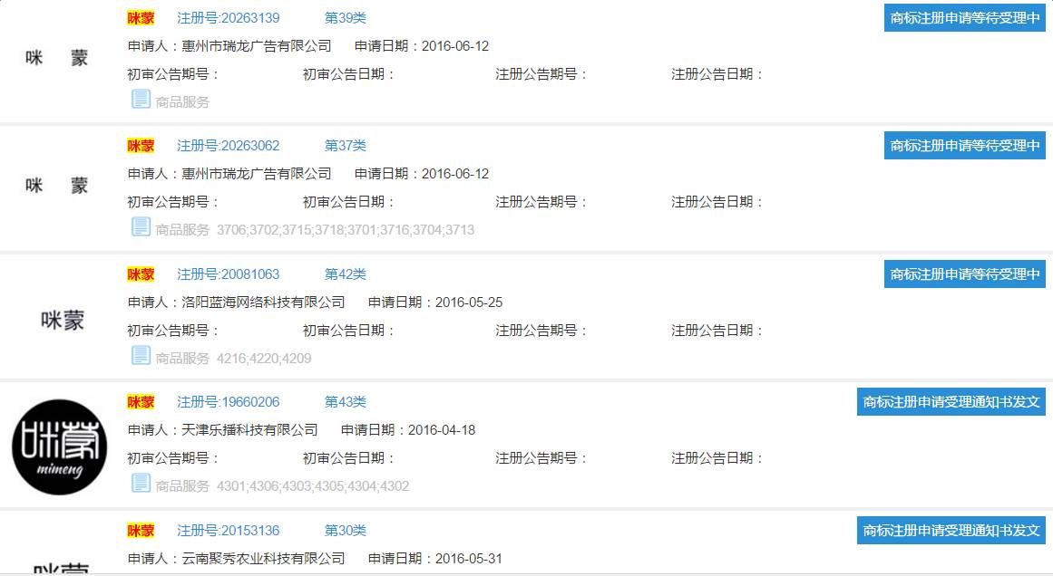
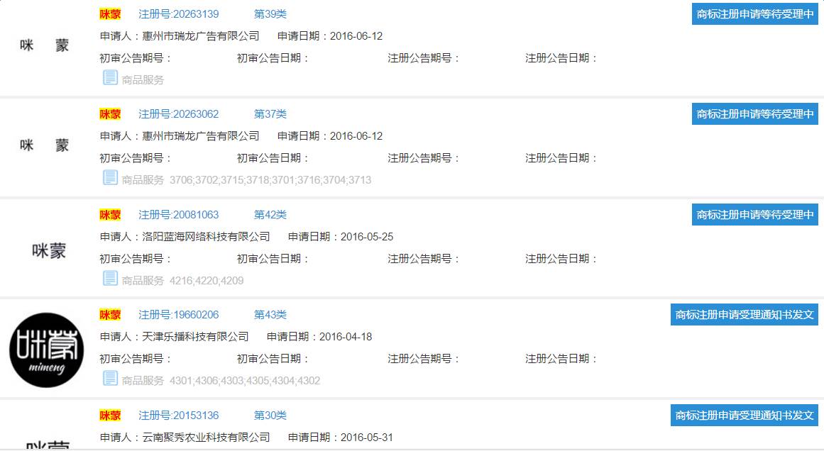
商标库中申请注册“咪蒙”商标的记录有114条,其中近70条由咪蒙的北京十月初五有限公司申请注册。该公司最早申请注册的日期为2016年8月,而“咪蒙”商标最早申请注册的日期为2016年4月。

(咪蒙的北京十月初五有限公司申请注册“咪蒙”)

(其他公司抢注咪蒙)
且不论最终结果,但对于自身IP的保护,两位当红自媒体都没有赢在起跑线上。
及早注册商标,避免加入“一标之争”
身边不少自媒体觉得,自己还在尝试,先把内容做好,剩下不用考虑那么多。但我国商标法的申请在先原则意味着如果没有及早注册,被他人抢先,可能造成无法挽回或需要大代价挽回的后果。
加之,商标作为一种新型投资产品,稍有热度的IP商标都将面临众人抢注的境况,单2016年被抢注的全民热词就有“洪荒之力”、“蓝瘦香菇”、“小目标”、“先赚他一个亿”等。
换句话说就是:你毫不在意,别人却可能伺机而动。
因此,别让你的自媒体强于内容却败于法律。自媒体的强大依赖于粉丝的信服与追随,却也别忘了用法律武装自己,对山寨说不,也是对粉丝的一种保护。


评论