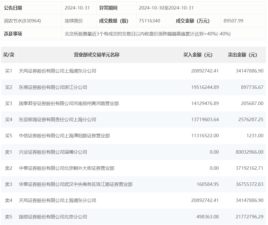
润农节水今日涨停,龙虎榜数据显示,上榜营业部席位全天成交2.63亿元,占当日总成交金额比例为32.32%。其中,买入金额为6807.73万元,卖出金额为1.95亿元,合计净卖出1.27亿元。
具体来看,知名游资现身龙虎榜,孙哥(中信证券股份有限公司上海溧阳路证券营业部)净买入1131.53万元。此外,东莞证券浙江分公司、国泰君安证券河南郑州黄河路营业部分别买入1951.62万元、1412.95万元;兴业证券淄博分公司、中泰证券北京朝外大街证券营业部分别卖出6119.90万元、3719.22万元。

评论