首页
科技
金融
证券
地产
汽车
健康
地方
硬科技
文旅
数据
ESG
双碳
电厂
商业
科技
地产
汽车
消费
工业
时尚
交通
医药
互联网
创投
能源
数码
教育
食品
新能源
家电
健康
酒业
物流
零售
美妆
体育
楼市
家居
餐饮
日用
企服
珠宝
腕表
智库
电厂
农业
出海
财经
金融
投资
证券
IPO
宏观
股市
财富
有连云
新闻
天下
中国
地方
评论
数据
职场
国是
文娱
影像
营销
大湾区
ESG
双碳
长三角
中西部
文化生活
文化
文旅
生活方式
美食美酒
艺术
游戏
正午
箭厂
VIP
投资早晚报
宏观晚6点
打新早报
盘前机会前瞻
盘中必读
风口价值
调研早知道
研报新知
快报
今日热点
公司头条
股市前沿
监管通报
财经速览
时事追踪
界面号
财经号
城市号
媒体号
视频
界面Vnews
直播
箭厂
品牌创酷
番茄社
商业微史记
胡说财经
专题
新闻专题
活动专题
Global
登录
消息
我的面点
我的关注
我的文章
投稿
报料
账号设置
退出账号
旧版搜索
新版搜索
旧版搜索
历史搜索
全部删除
热门搜索
股市快讯
欧菲光
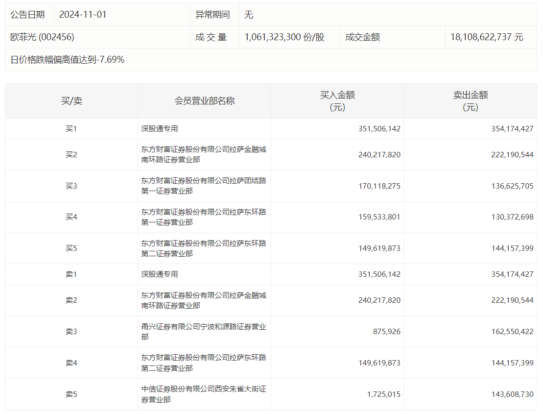
龙虎榜 | 欧菲光今日跌停 “拉萨天团”占据买方四席
界面快报
·
来源:界面新闻
欧菲光11月1日跌停,成交额181.09亿元,换手率32.63%,盘后龙虎榜数据显示,深股通专用席位买入3.52亿元并卖出3.54亿元,“拉萨天团”占据买方四席。
未经正式授权严禁转载本文,侵权必究。
欧菲光
3.8k
欧菲光:2025年归母净利润同比下降28.69%
3天前
今日涨跌停股分析:79只涨停股、7只跌停股,光学光电子板块上涨,欧菲光、龙腾光电等涨停
1个月前
点赞
收藏
看评论
分享至
微博分享
微信分享
QQzone
评论
暂无评论哦,快来评价一下吧!
热门排行
April 05
与辉同行就带货优思益致歉:将为用户先行垫付、全额退款
豆包Token日均消耗量两年翻1000倍,火山引擎千亿营收目标再提速
特朗普:美国对伊朗战事的核心战略目标“接近完成”
特朗普再警告伊朗:“48小时内”可能采取进一步行动
伊外长:美媒歪曲伊朗立场,伊朗从未拒绝前往伊斯兰堡
伊朗允许运载必需品的船只通过霍尔木兹海峡
伊官员:伊朗石油出口量有所增加,全国燃料供应正常
伊朗称击落一架敌方MQ-1无人机
汽车早报|智己汽车官宣刘翔为代言人 江淮汽车2025年归母净亏损17.03亿元
美伊停火斡旋陷入僵局,伊朗拒绝在伊斯兰堡与美方会面
评论