首页
科技
金融
证券
地产
汽车
健康
地方
硬科技
文旅
数据
ESG
双碳
电厂
商业
科技
地产
汽车
消费
工业
时尚
交通
医药
互联网
创投
能源
数码
教育
食品
新能源
家电
健康
酒业
物流
零售
美妆
体育
楼市
家居
餐饮
日用
企服
珠宝
腕表
智库
电厂
农业
出海
财经
金融
投资
证券
IPO
宏观
股市
财富
有连云
新闻
天下
中国
地方
评论
数据
职场
国是
文娱
影像
营销
大湾区
ESG
双碳
长三角
中西部
文化生活
文化
文旅
生活方式
美食美酒
艺术
游戏
正午
箭厂
VIP
投资早晚报
宏观晚6点
打新早报
盘前机会前瞻
盘中必读
风口价值
调研早知道
研报新知
快报
今日热点
公司头条
股市前沿
监管通报
财经速览
时事追踪
界面号
财经号
城市号
媒体号
视频
界面Vnews
直播
箭厂
品牌创酷
番茄社
商业微史记
胡说财经
专题
新闻专题
活动专题
Global
登录
消息
我的面点
我的关注
我的文章
投稿
报料
账号设置
退出账号
旧版搜索
新版搜索
旧版搜索
历史搜索
全部删除
热门搜索
股市快讯
黑芝麻
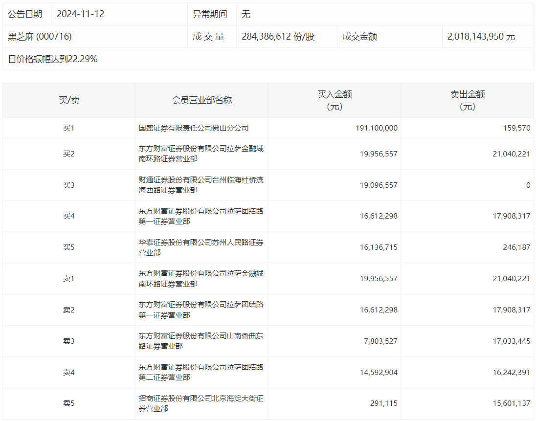
龙虎榜 | 黑芝麻今日上演地天板,国盛证券佛山分公司席位净买入1.91亿元
界面快报
·
来源:界面新闻
黑芝麻今日上演地天板,成交额20.18亿元,换手率40.59%,盘后龙虎榜数据显示,国盛证券佛山分公司席位净买入1.91亿元。
未经正式授权严禁转载本文,侵权必究。
黑芝麻
107
黑芝麻智能获首个华山A2000芯片量产方案项目定点
1个月前
黑芝麻智能:刘卫红调任为非执行董事,不再担任总裁
2个月前
点赞
收藏
看评论
分享至
微博分享
微信分享
QQzone
评论
暂无评论哦,快来评价一下吧!
热门排行
April 04
与辉同行就带货优思益致歉:将为用户先行垫付、全额退款
豆包Token日均消耗量两年翻1000倍,火山引擎千亿营收目标再提速
特朗普:美国对伊朗战事的核心战略目标“接近完成”
近12小时大宕机后仅隔一天,DeepSeek再崩一小时后恢复
一季度消费品以旧换新销售额超4300亿元,分析师:促消费政策将持续加力
央行节后首日将开展8000亿元买断式逆回购,释放什么信号?
特朗普再提打开霍尔木兹海峡“抢石油”
美战机飞行员或被伊朗军方俘虏
“眼镜一哥”毛源昌走不出省也要敲钟
抓获41人,中泰越三国联合破获一起跨国制造毒品案
评论