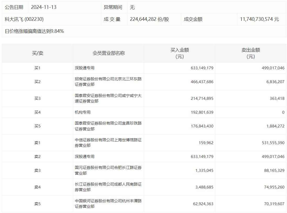
龙虎榜 | 科大讯飞今日涨停,深股通买入6.33亿元并卖出4.99亿元

科大讯飞11月13日涨停,龙虎榜数据显示,深股通买入6.33亿元并卖出4.99亿元,一机构买入1.93亿元,招商证券北京北三环东路净买入4.6亿元,中信证券上海世博馆路卖出5.31亿元。

 

未经正式授权严禁转载本文,侵权必究。

科大讯飞

3.7k
  • 科大讯飞等在北京成立量智开物科技公司
  • 编造传播涉科大讯飞网络谣言,沙某被行拘

评论

暂无评论哦,快来评价一下吧!