龙虎榜丨中国长城今日涨停,中信证券北京总部净买入2.71亿元

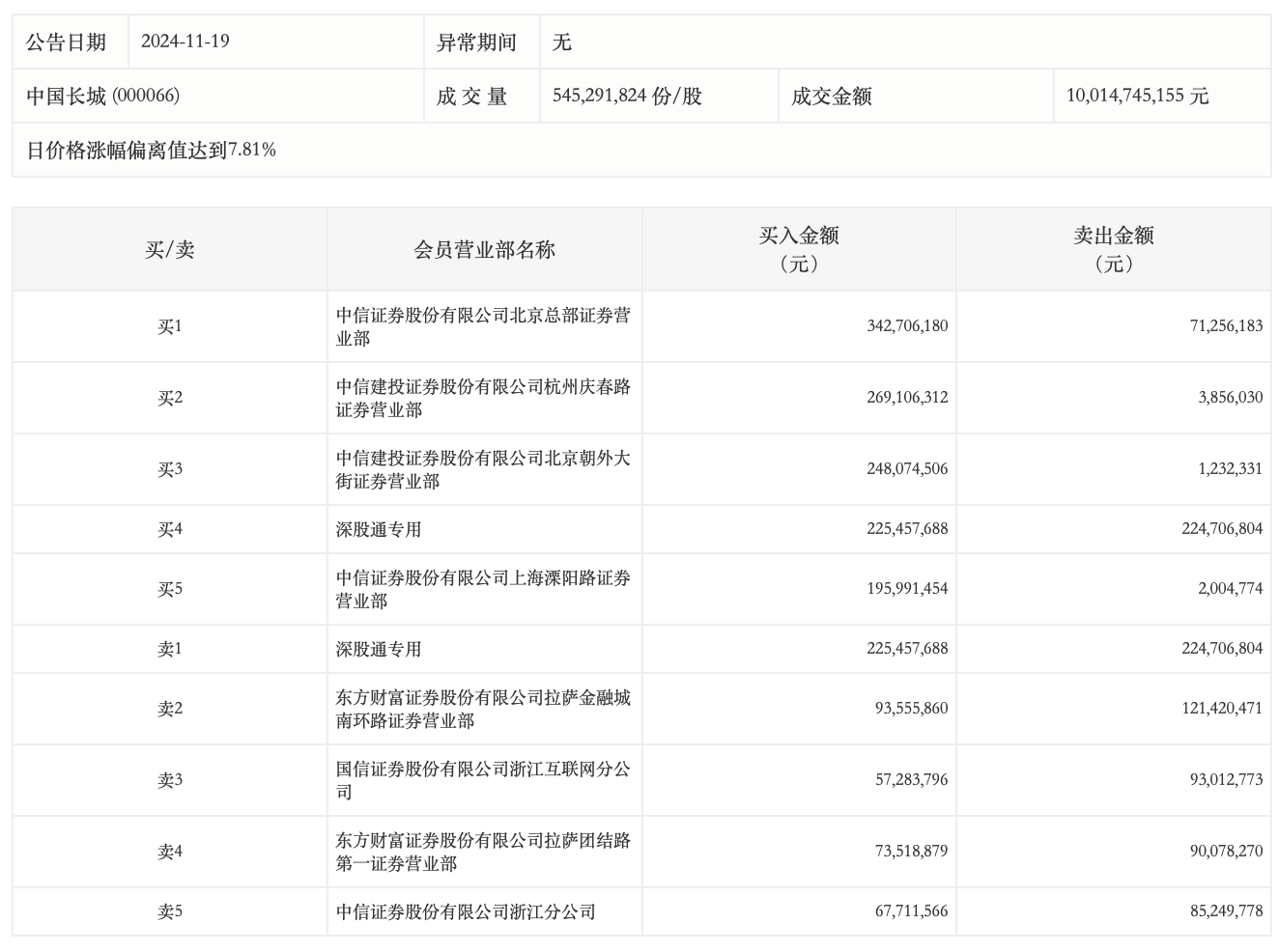
11月19日,中国长城今日涨停,成交额100.15亿元,换手率17.33%,盘后龙虎榜数据显示,中信证券北京总部净买入2.71亿元,深股通专用席位买入2.25亿元并卖出2.25亿元。

 

未经正式授权严禁转载本文,侵权必究。

中国长城

1.6k
  • 中国长城(000066.SZ):2025年三季报净利润为1606.67万元,同比扭亏为盈
  • 三亚市政府与中国长城互联网信息中心签署战略合作协议

评论

暂无评论哦,快来评价一下吧!