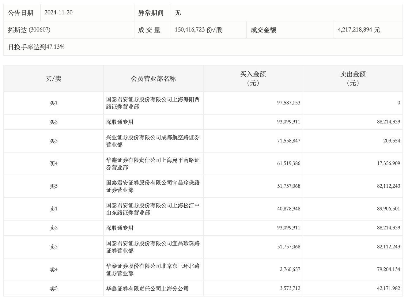
11月20日,拓斯达今日涨停,龙虎榜数据显示,上榜营业部席位全天成交8.22亿元,占当日总成交金额比例为19.49%。其中,买入金额为4.23亿元,卖出金额为3.99亿元,合计净买入2356.0万元。
具体来看,知名游资现身龙虎榜,炒股养家(华鑫证券有限责任公司上海宛平南路证券营业部)净买入4416.25万元。此外,国泰君安证券上海海阳西路证券营业部、深股通专用分别买入9758.72万元、9309.99万元;国泰君安证券上海松江中山东路证券营业部、深股通专用分别卖出8990.65万元、8821.43万元。

评论