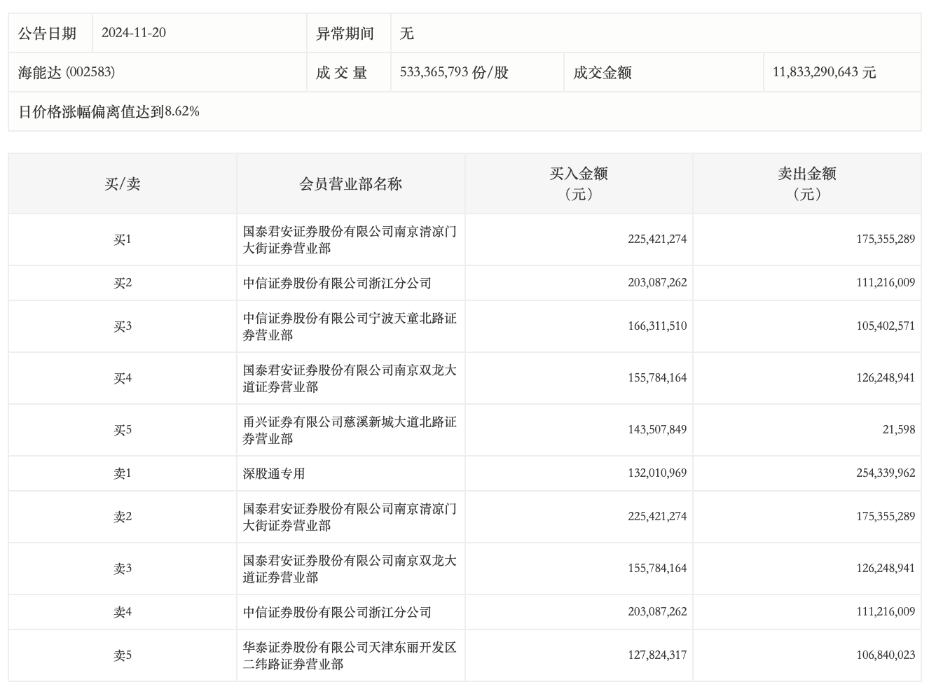
11月20日,海能达今日涨停,龙虎榜数据显示,上榜营业部席位全天成交20.33亿元,占当日总成交金额比例为17.18%。其中,买入金额为11.54亿元,卖出金额为8.79亿元,合计净买入2.75亿元。
具体来看,国泰君安证券南京清凉门大街证券营业部、中信证券浙江分公司分别买入2.25亿元、2.03亿元;深股通专用、国泰君安证券南京清凉门大街证券营业部分别卖出2.54亿元、1.75亿元。

来源:界面新闻
11月20日,海能达今日涨停,龙虎榜数据显示,上榜营业部席位全天成交20.33亿元,占当日总成交金额比例为17.18%。其中,买入金额为11.54亿元,卖出金额为8.79亿元,合计净买入2.75亿元。
具体来看,国泰君安证券南京清凉门大街证券营业部、中信证券浙江分公司分别买入2.25亿元、2.03亿元;深股通专用、国泰君安证券南京清凉门大街证券营业部分别卖出2.54亿元、1.75亿元。

评论