一个好的名字就是:有商标、有域名,含义不错、朗朗上口。——雷军
创业者和企业如何针对自己的产品命名及相关保护的三个标准:
1、给产品起个好名字,清晰地表达产品,一看就知道你是干什么的;
2、为自己的产品名字注册保护商标;
3、产品名对应的中文名全拼.com(即是域名)一定要在自己手里;
三者都满足的话,会给创业者和企业节约至少上百万的推广费用。
说道这方面行业翘楚,非小米莫属了!
雷军一向重视企业商标和域名,自公司成立以来注册了1700多个相关商标,小米公司核心产品都保护了对应的商标和域名。
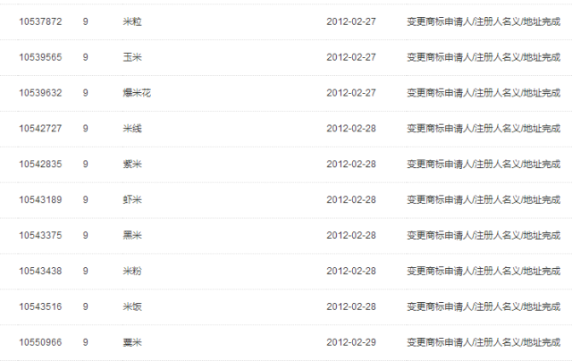
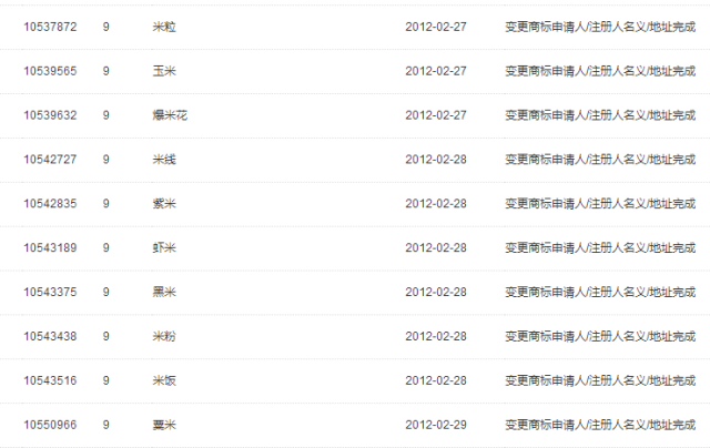
百米通吃的小米
先来看看这盘丰盛的米氏大餐——小米几乎注册了含米字的所有日常用词,且每个至少进行了四个类别的保护。

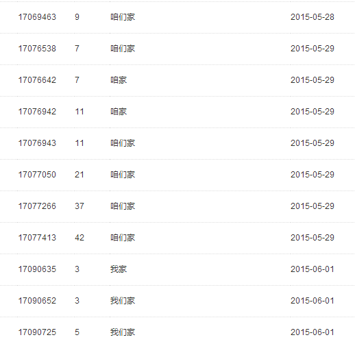
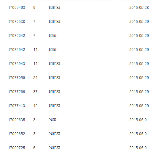
在米家概念提出后,小米还注册了包括“咱家”、“我们家”、“我家”、“咱们家”的商标。

其中,以09类科学仪器商标居多,有323件;其次是42类网站服务有173件;38类通讯服务160件;35类广告销售151件。互联网科技公司多是以这4类商标为主,至于其他类的多是以保护为主。
注册相关/相似商标,一方面可以防止后来者利用相似商标蹭热度,另一方面也可以避免他人对品牌造成负面影响!
商标申请尚标建议:对于商标申请,如果有提前的产品布局,一定要尽早申请商标,以防被他人抢注;另一方面,多类别注册(尤其是品牌名称和核心产品名称)也是企业保护自身的有效途径之一;更富前瞻性思维的企业还会将相关商标进行申请保护,可避免自身权益遭到侵犯。
域名也不能少
域名的选取,直接影响到创业者和企业这方面的发展,一个好的域名就像是给创业者和企业的一种乘风破浪的感觉,只有满意了才能更好的为创业者和企业带来更多的利润。
小米的新域名(mi.com)网传交易价格在百万美元级别,创始人雷军自曝“贼贵”,认为算得上我国互联网史上最贵域名!
从“小米”域名xiaomi.net/.cn、“MIUI”域名miui.com/.cn、“米聊”域名miliao.com、“手机”域名shouji.cn,再到“米”域名mi.com/.cn/.中国,以及“雷军”姓名域名leijun.com等,从小米的举动不难看出域名保护已被列入企业公司战略。
域名是重要无形资产和战略品牌资产,相信未来会有越来越多的企业,像小米公司一样重视品牌域名的保护,就如同在保护自己家的孩子,不让其流浪在外。
由此可见,在创业者和企业网络品牌之间,要想有一个完整体系的无形资产构架必须要把这块做好,缺一不可。商标、域名的统一性尤为重要。


评论