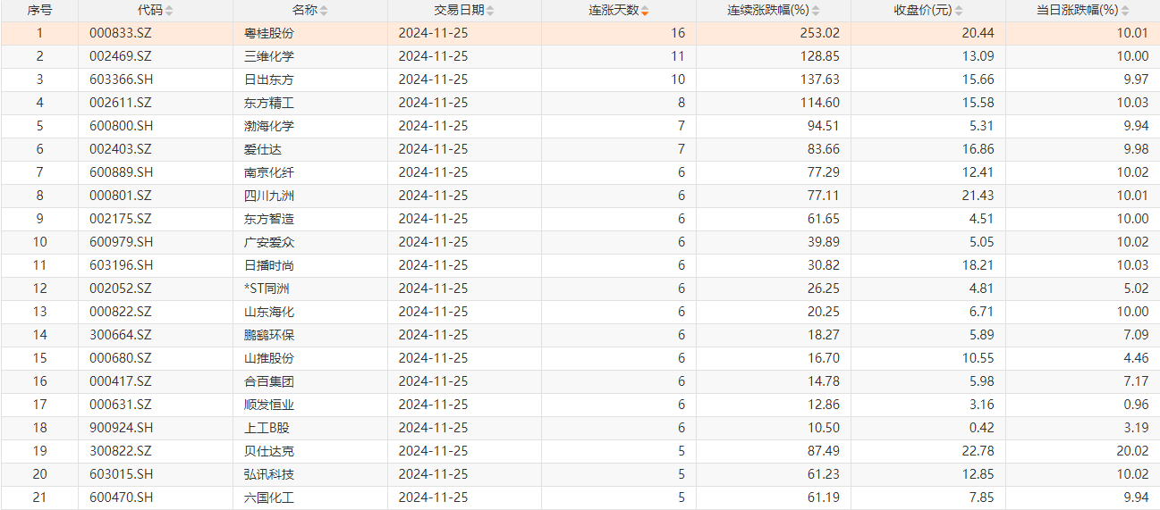
今日1只个股连涨16天,1只个股连涨11天

11月25日,Choice数据统计,今日1只个股连续16天上涨,为粤桂股份;1只个股连续11天上涨,为三维化学;此外,日出东方、东方精工、渤海化学、南京化纤等至少连涨6天。

 

未经正式授权严禁转载本文,侵权必究。

渤海化学

  • 渤海化学:全资子公司PDH装置例行停产检修延期至2026年2月底
  • 渤海化学(600800.SH):2025年三季报净利润为-5.79亿元,同比亏损放大

评论

暂无评论哦,快来评价一下吧!