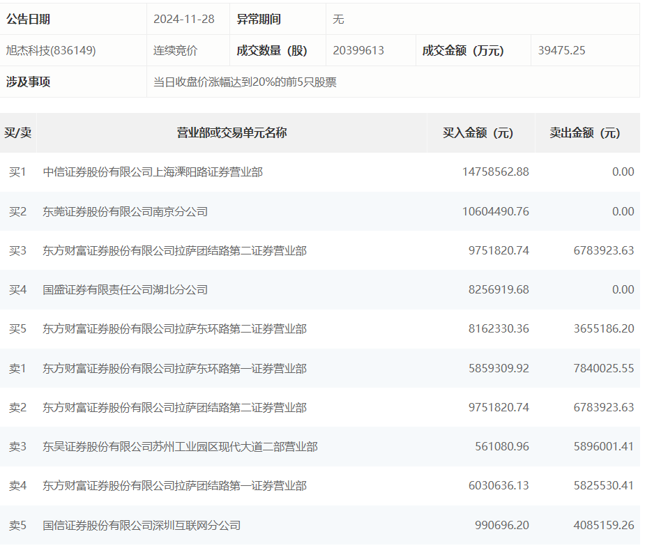
旭杰科技今日涨停,龙虎榜数据显示,上榜营业部席位全天成交9906.17万元,占当日总成交金额比例为25.09%。其中,买入金额为6497.58万元,卖出金额为3408.58万元,合计净买入3089.0万元。
具体来看,知名游资现身龙虎榜,孙哥(中信证券上海溧阳路证券营业部)、东莞证券南京分公司分别买入1475.86万元、1060.45万元;东方财富证券拉萨东环路第一证券营业部、东方财富证券拉萨团结路第二证券营业部分别卖出784.00万元、678.39万元。

来源:界面新闻
旭杰科技今日涨停,龙虎榜数据显示,上榜营业部席位全天成交9906.17万元,占当日总成交金额比例为25.09%。其中,买入金额为6497.58万元,卖出金额为3408.58万元,合计净买入3089.0万元。
具体来看,知名游资现身龙虎榜,孙哥(中信证券上海溧阳路证券营业部)、东莞证券南京分公司分别买入1475.86万元、1060.45万元;东方财富证券拉萨东环路第一证券营业部、东方财富证券拉萨团结路第二证券营业部分别卖出784.00万元、678.39万元。

评论