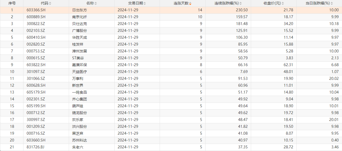
A股今日1只个股连涨14天,1只个股连涨10天

11月29日,Choice数据统计,今日1只个股连续14天上涨,为日出东方;1只个股连续10天上涨,为南京化纤;此外,贝仕达克、广博股份、华胜天成、桂发祥等连涨9天。

 

未经正式授权严禁转载本文,侵权必究。

贝仕达克

  • 贝仕达克(300822.SZ):2026年一季报净利润为2206.06万元
  • 3月16日投资早报|东吴证券拟购买东海证券83.77%股份股票复牌。京投发展拟将房地产开发业务相关资产及负债转让至控股股东,今日两只新股申购

评论

暂无评论哦,快来评价一下吧!