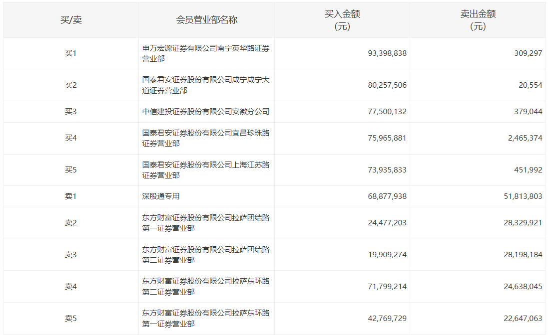
拓尔思今日涨停,龙虎榜数据显示,上榜营业部席位全天成交7.88亿元,占当日总成交金额比例为20.22%。其中,买入金额为6.29亿元,卖出金额为1.59亿元,合计净买入4.7亿元。
具体来看,知名游资现身龙虎榜,章盟主(国泰君安证券股份有限公司上海江苏路证券营业部)净买入7348.38万元。此外,申万宏源证券有限公司南宁英华路证券营业部、国泰君安证券咸宁咸宁大道证券营业部分别买入9339.88万元、8025.75万元;深股通专用、东方财富证券拉萨团结路第一证券营业部分别卖出5181.38万元、2832.99万元。

评论