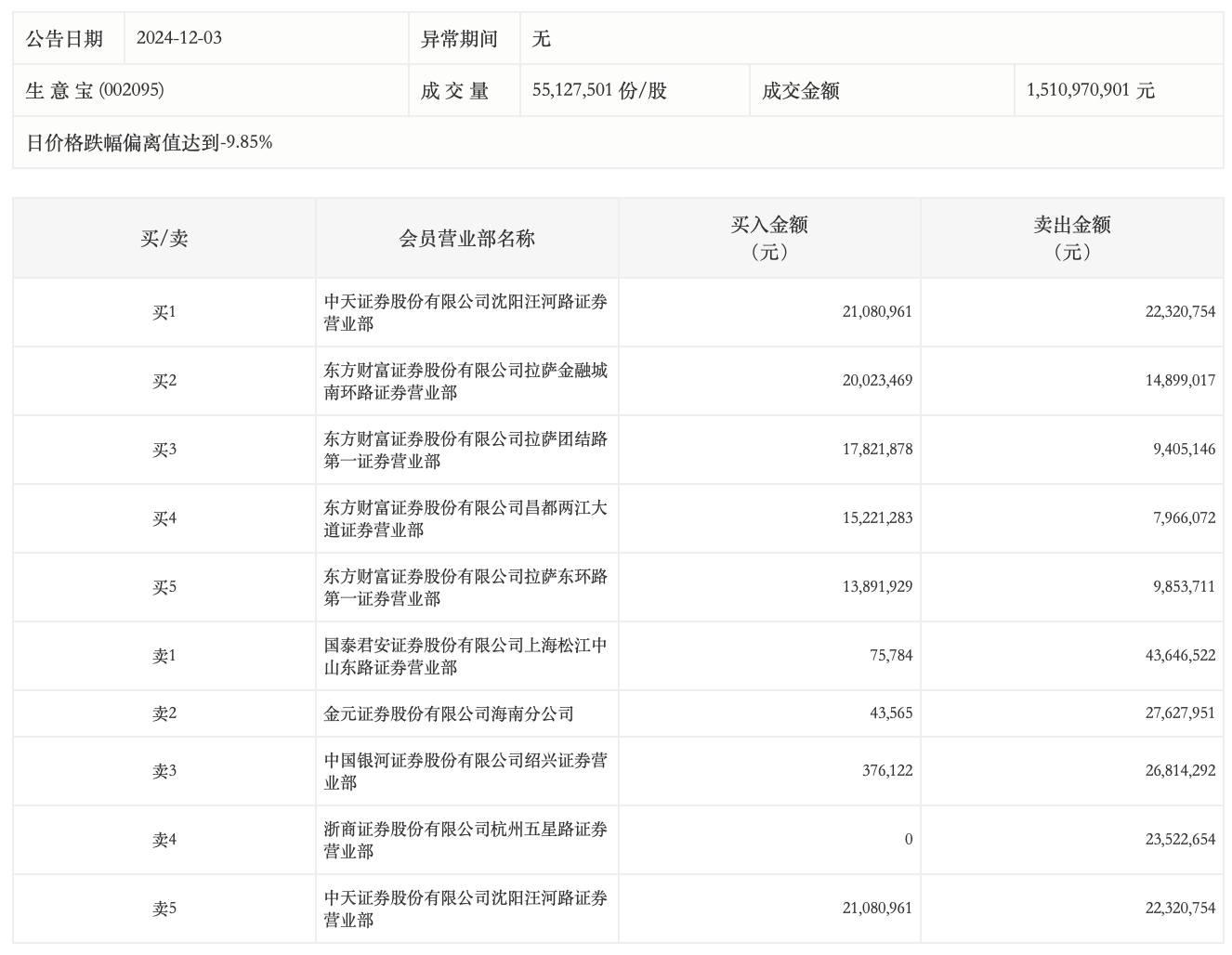
12月3日,生意宝今日跌停,龙虎榜数据显示,上榜营业部席位全天成交2.75亿元,占当日总成交金额比例为18.17%。其中,买入金额为8853.5万元,卖出金额为1.86亿元,合计净卖出9752.11万元。
具体来看,知名游资现身龙虎榜,赵老哥(中国银河证券股份有限公司绍兴证券营业部)净卖出2643.82万元。此外,国泰君安证券上海松江中山东路证券营业部、金元证券海南分公司分别卖出4364.65万元、2762.80万元;中天证券沈阳汪河路证券营业部、东方财富证券拉萨金融城南环路证券营业部分别买入2108.10万元、2002.35万元。

评论