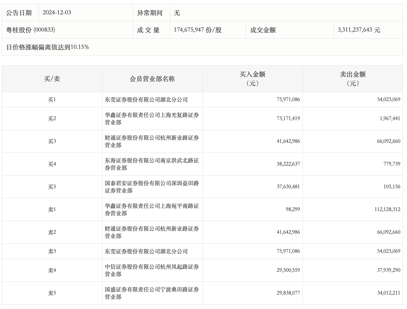
12月3日,粤桂股份今日涨停,龙虎榜数据显示,上榜营业部席位全天成交6.33亿元,占当日总成交金额比例为19.12%。其中,买入金额为3.26亿元,卖出金额为3.07亿元,合计净买入1902.77万元。
具体来看,知名游资现身龙虎榜,东莞证券湖北分公司、华鑫证券上海光复路证券营业部分别买入7597.11万元、7317.14万元;炒股养家(华鑫证券上海宛平南路证券营业部)、财通证券杭州新业路证券营业部分别卖出1.12亿元、6609.27万元。

来源:界面新闻
12月3日,粤桂股份今日涨停,龙虎榜数据显示,上榜营业部席位全天成交6.33亿元,占当日总成交金额比例为19.12%。其中,买入金额为3.26亿元,卖出金额为3.07亿元,合计净买入1902.77万元。
具体来看,知名游资现身龙虎榜,东莞证券湖北分公司、华鑫证券上海光复路证券营业部分别买入7597.11万元、7317.14万元;炒股养家(华鑫证券上海宛平南路证券营业部)、财通证券杭州新业路证券营业部分别卖出1.12亿元、6609.27万元。

评论