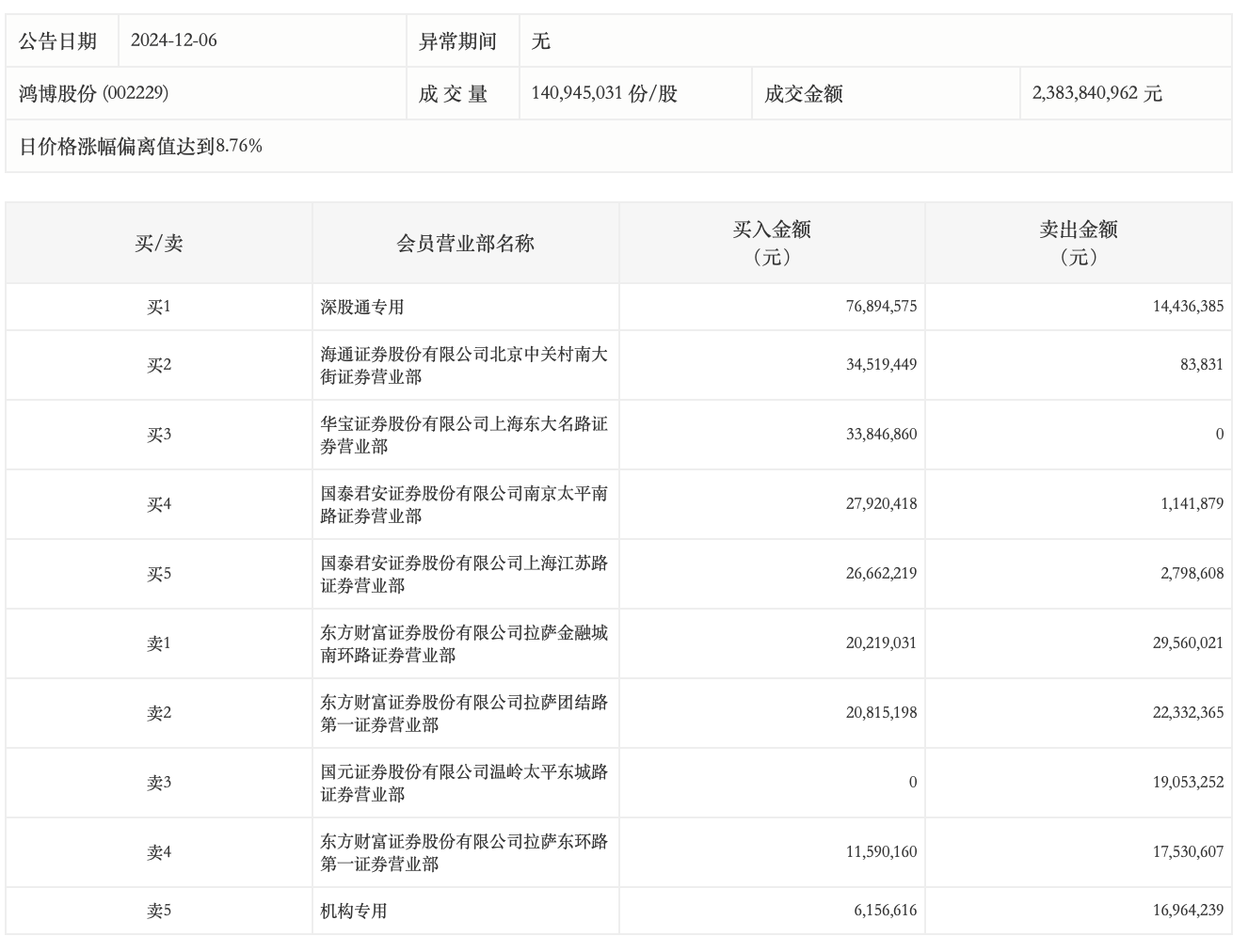
12月6日,鸿博股份今日涨停,龙虎榜数据显示,上榜营业部席位全天成交3.83亿元,占当日总成交金额比例为16.05%。其中,买入金额为2.59亿元,卖出金额为1.24亿元,合计净买入1.35亿元。
具体来看,机构买入615.66万元,卖出1696.42万元,合计净卖出1080.76万元。此外,知名游资现身龙虎榜,章盟主(国泰君安证券股份有限公司上海江苏路证券营业部)净买入2386.36万元、作手新一(国泰君安证券股份有限公司南京太平南路证券营业部)净买入2677.85万元。此外,深股通专用、海通证券北京中关村南大街证券营业部分别买入7689.46万元、3451.94万元;东方财富证券拉萨金融城南环路证券营业部、东方财富证券拉萨团结路第一证券营业部分别卖出2956.00万元、2233.24万元。

评论