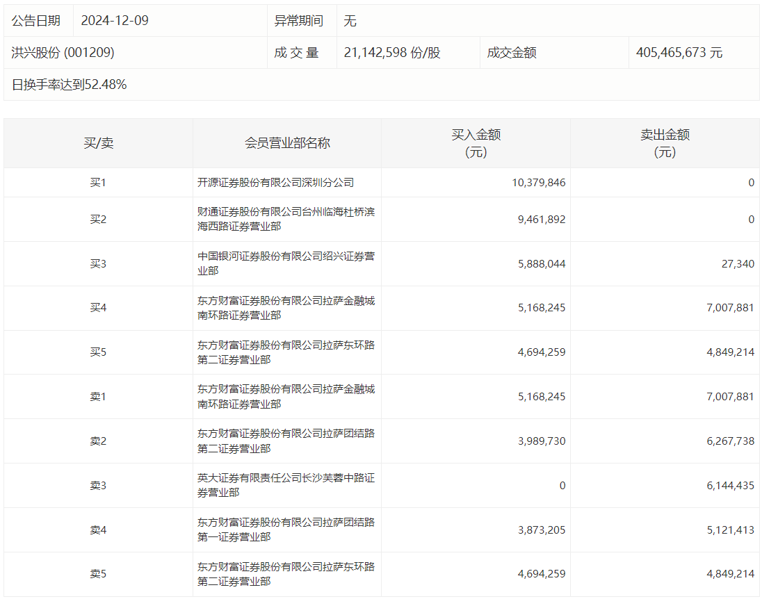
洪兴股份今日跌6.28%,龙虎榜数据显示,上榜营业部席位全天成交7287.32万元,占当日总成交金额比例为17.97%。其中,买入金额为4345.52万元,卖出金额为2941.8万元,合计净买入1403.72万元。
具体来看,知名游资现身龙虎榜,赵老哥(中国银河证券股份有限公司绍兴证券营业部)净买入586.07万元。此外,东方财富证券拉萨金融城南环路证券营业部、东方财富证券拉萨团结路第二证券营业部分别卖出700.79万元、626.77万元;开源证券深圳分公司、财通证券台州临海杜桥滨海西路证券营业部分别买入1037.98万元、946.19万元。

评论