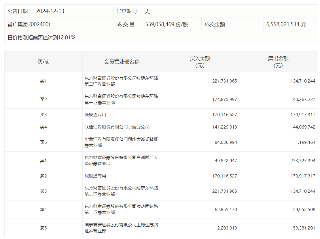
省广集团今日涨停,龙虎榜数据显示,上榜营业部席位全天成交16.51亿元,占当日总成交金额比例为25.17%。其中,买入金额为9.07亿元,卖出金额为7.44亿元,合计净买入1.63亿元。
具体来看,知名游资现身龙虎榜,章盟主(国泰君安证券股份有限公司上海江苏路证券营业部)净卖出5717.82万元。此外,东方财富证券拉萨东环路第二证券营业部、东方财富证券拉萨东环路第一证券营业部分别买入2.22亿元、1.75亿元;东方财富证券昌都两江大道证券营业部、深股通专用分别卖出2.33亿元、1.71亿元。

来源:界面新闻
省广集团今日涨停,龙虎榜数据显示,上榜营业部席位全天成交16.51亿元,占当日总成交金额比例为25.17%。其中,买入金额为9.07亿元,卖出金额为7.44亿元,合计净买入1.63亿元。
具体来看,知名游资现身龙虎榜,章盟主(国泰君安证券股份有限公司上海江苏路证券营业部)净卖出5717.82万元。此外,东方财富证券拉萨东环路第二证券营业部、东方财富证券拉萨东环路第一证券营业部分别买入2.22亿元、1.75亿元;东方财富证券昌都两江大道证券营业部、深股通专用分别卖出2.33亿元、1.71亿元。

评论