界面新闻logo
  • 首页
    • 科技
    • 金融
    • 证券
    • 地产
    • 汽车
    • 健康
    • 地方
    • 大湾区
    • 文旅
    • 数据
    • ESG
    • 双碳
    • 电厂
  • 商业
    • 科技
    • 地产
    • 汽车
    • 消费
    • 工业
    • 时尚
    • 交通
    • 医药
    • 互联网
    • 创投
    • 能源
    • 数码
    • 教育
    • 食品
    • 新能源
    • 家电
    • 健康
    • 酒业
    • 物流
    • 零售
    • 美妆
    • 体育
    • 楼市
    • 家居
    • 餐饮
    • 日用
    • 企服
    • 珠宝
    • 腕表
    • 智库
    • 电厂
    • 农业
  • 财经
    • 金融
    • 投资
    • 证券
    • IPO
    • 宏观
    • 股市
    • 财富
    • 有连云
  • 新闻
    • 天下
    • 中国
    • 地方
    • 评论
    • 数据
    • 职场
    • 国是
    • 文娱
    • 影像
    • 营销
    • 大湾区
    • ESG
    • 双碳
    • 长三角
    • 中西部
  • 文化生活
    • 文化
    • 文旅
    • 生活方式
    • 美食美酒
    • 艺术
    • 游戏
    • 正午
    • 箭厂
  • VIP
    • 投资早晚报
    • 宏观晚6点
    • 打新早报
    • 盘前机会前瞻
    • 盘中必读
    • 金股挖掘
    • 调研早知道
    • 研报新知
  • 快报
    • 今日热点
    • 公司头条
    • 股市前沿
    • 监管通报
    • 财经速览
    • 时事追踪
  • 界面号
    • 财经号
    • 城市号
    • 媒体号
  • 视频
    • 界面Vnews
    • 直播
    • 箭厂
    • 面谈
    • 品牌创酷
    • 番茄社
    • 商业微史记
  • 专题
    • 新闻专题
    • 活动专题
  • Global
登录
  • 消息
  • 我的面点
  • 我的关注
  • 我的文章
  • 投稿
  • 报料
  • 账号设置
  • 退出账号
旧版搜索
  • 新版搜索
  • 旧版搜索

历史搜索 全部删除

    热门搜索

      股市快讯

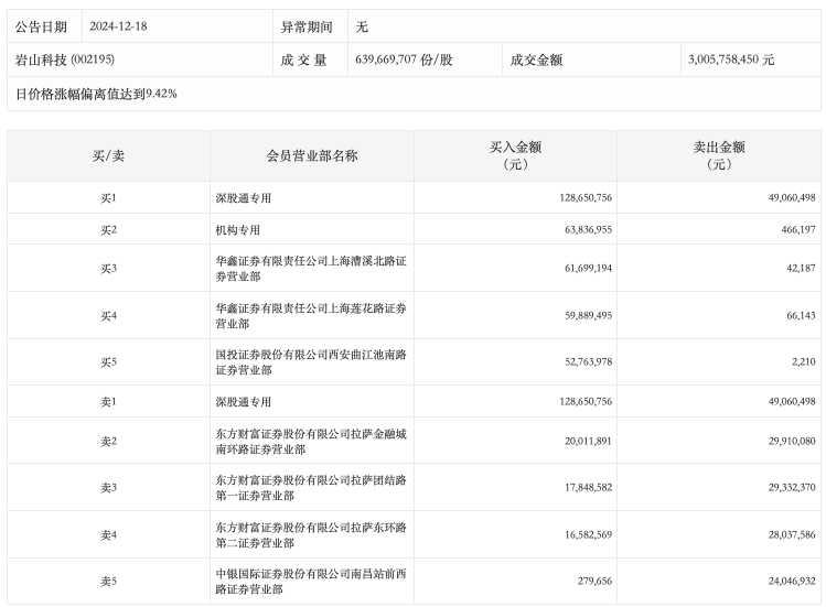
      龙虎榜丨岩山科技今日涨停,一机构净买入6337.08万元

      界面快报 · 来源:界面新闻

      12月18日,岩山科技今日涨停,成交额30.06亿元,换手率11.40%,盘后龙虎榜数据显示,深股通专用席位买入1.29亿元并卖出4906.05万元,一机构专用席位净买入6337.08万元。

       

      未经正式授权严禁转载本文,侵权必究。
      点赞
      收藏
      看评论
      分享至
      微博分享
      微信分享
      QQzone

      评论

      暂无评论哦,快来评价一下吧!
      热门排行December 14
      • 汽车早报|长安第3000万辆中国品牌汽车正式下线 OPPO向奥迪公司许可蜂窝通信标准必要专利
      • 小米公司不让卖小米?小米最新回应:彻头彻尾的歪曲与污蔑
      • 估值约为8000亿美元,SpaceX为IPO敲定新一轮股票交易计划
      • 已炸掉3座赌场,泰国无视特朗普调停继续打击柬埔寨
      • 特朗普签署行政令在联邦层面统一人工智能监管规则
      • 中央经济工作会议“点名”大湾区,国际科创中心如何建?
      • 事关居民增收、扩大内需,中国经济年会最新发声
      • 借“缉毒”打击委内瑞拉之际,白宫拟大幅放宽美国大麻限制
      • 中国经济年会:我国今年经济总量预计达140万亿元左右,重点领域风险化解取得积极进展
      • 汽车早报|赛力斯非执行董事尤峥因工作调整辞职 东风商用车将明年销量目标定为17.6万辆

      上海界面财联社科技股份有限公司 版权所有 © 2014-2025 JIEMIAN.COM

      • 关于我们
      • 联系我们
      • 广告合作
      • 注册协议
      • 投稿须知
      • 版权声明
      • 举报及处置