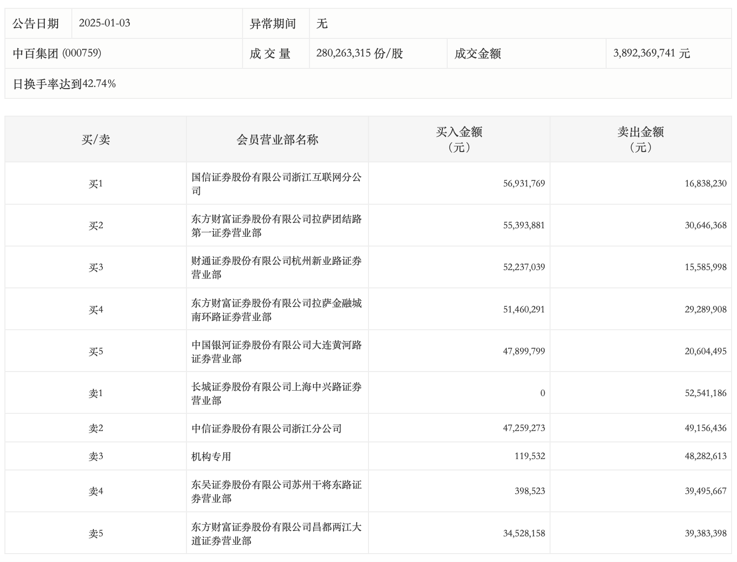
1月3日,中百集团今日跌停,龙虎榜数据显示,上榜营业部席位全天成交6.88亿元,占当日总成交金额比例为17.68%。其中,买入金额为3.46亿元,卖出金额为3.42亿元,合计净买入440.4万元。
具体来看,机构买入11.95万元,卖出4828.26万元,合计净卖出4816.31万元。此外,长城证券上海中兴路证券营业部、中信证券浙江分公司分别卖出5254.12万元、4915.64万元;国信证券浙江互联网分公司、东方财富证券拉萨团结路第一证券营业部分别买入5693.18万元、5539.39万元。

来源:界面新闻
1月3日,中百集团今日跌停,龙虎榜数据显示,上榜营业部席位全天成交6.88亿元,占当日总成交金额比例为17.68%。其中,买入金额为3.46亿元,卖出金额为3.42亿元,合计净买入440.4万元。
具体来看,机构买入11.95万元,卖出4828.26万元,合计净卖出4816.31万元。此外,长城证券上海中兴路证券营业部、中信证券浙江分公司分别卖出5254.12万元、4915.64万元;国信证券浙江互联网分公司、东方财富证券拉萨团结路第一证券营业部分别买入5693.18万元、5539.39万元。

评论