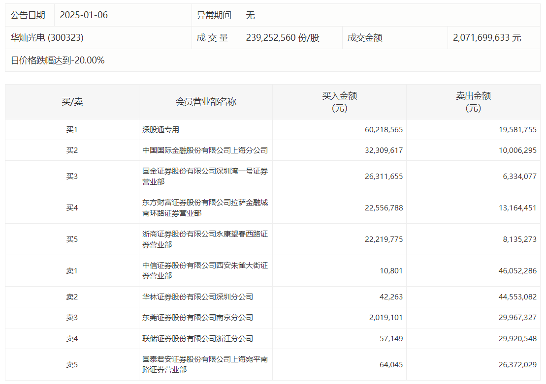
华灿光电今日跌停,龙虎榜数据显示,上榜营业部席位全天成交4.0亿元,占当日总成交金额比例为19.3%。其中,买入金额为1.66亿元,卖出金额为2.34亿元,合计净卖出6827.74万元。
具体来看,知名游资现身龙虎榜,方新侠(中信证券西安朱雀大街证券营业部)、华林证券深圳分公司分别卖出4605.23万元、4455.31万元;深股通专用、中国国际金融上海分公司分别买入6021.86万元、3230.96万元。

来源:界面新闻
华灿光电今日跌停,龙虎榜数据显示,上榜营业部席位全天成交4.0亿元,占当日总成交金额比例为19.3%。其中,买入金额为1.66亿元,卖出金额为2.34亿元,合计净卖出6827.74万元。
具体来看,知名游资现身龙虎榜,方新侠(中信证券西安朱雀大街证券营业部)、华林证券深圳分公司分别卖出4605.23万元、4455.31万元;深股通专用、中国国际金融上海分公司分别买入6021.86万元、3230.96万元。

评论