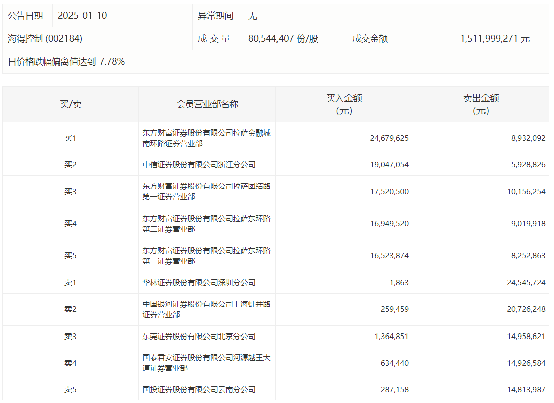
海得控制1月10日跌停,龙虎榜数据显示,上榜营业部席位全天成交2.3亿元,占当日总成交金额比例为15.18%。其中,买入金额为9726.83万元,卖出金额为1.32亿元,合计净卖出3499.28万元。
具体来看,知名游资现身龙虎榜,著名刺客(东莞证券股份有限公司北京分公司)净卖出1359.38万元。此外,华林证券深圳分公司、中国银河证券上海虹井路证券营业部分别卖出2454.57万元、2072.62万元;东方财富证券拉萨金融城南环路证券营业部、中信证券浙江分公司分别买入2467.96万元、1904.71万元。

评论