龙虎榜 | 利欧股份今日跌3.71%,知名游资方新侠净卖出1.48亿元

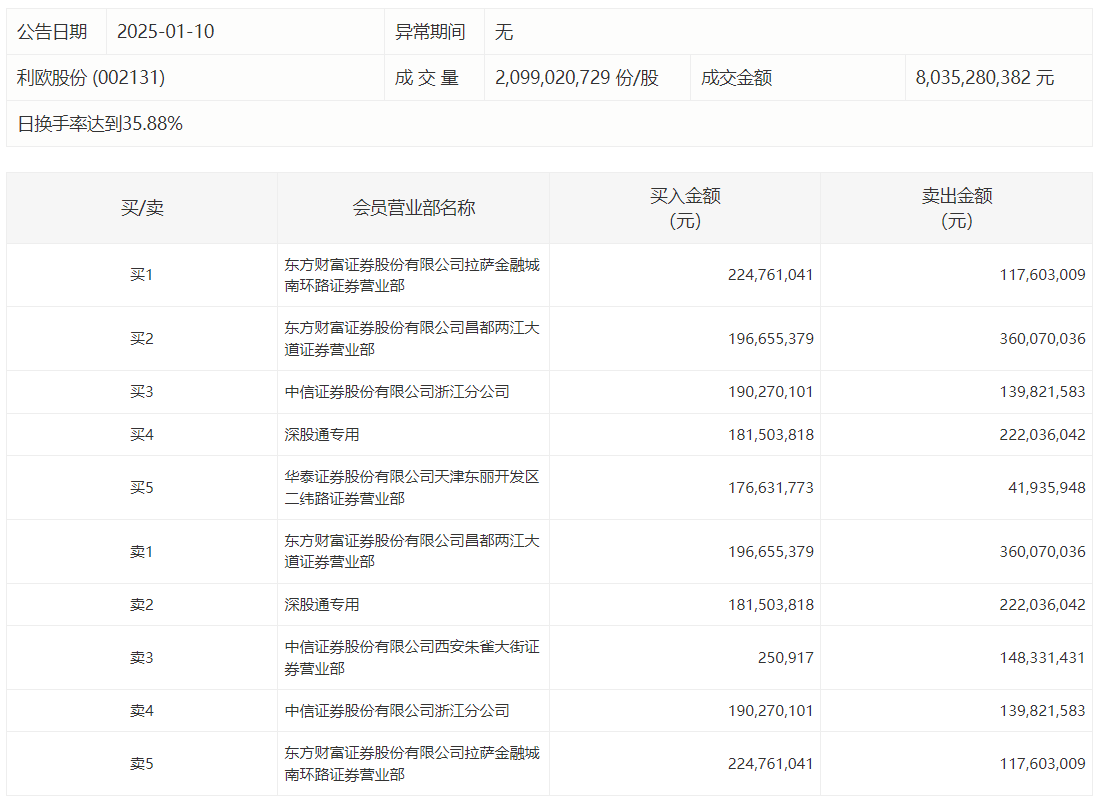
利欧股份今日跌3.71%,龙虎榜数据显示,上榜营业部席位全天成交20.0亿元,占当日总成交金额比例为24.89%。其中,买入金额为9.7亿元,卖出金额为10.3亿元,合计净卖出5972.5万元。

具体来看,知名游资现身龙虎榜,方新侠(中信证券股份有限公司西安朱雀大街证券营业部)净卖出1.48亿元。此外,东方财富证券昌都两江大道证券营业部、深股通专用分别卖出3.60亿元、2.22亿元;东方财富证券拉萨金融城南环路证券营业部、东方财富证券昌都两江大道证券营业部分别买入2.25亿元、1.97亿元。

 

未经正式授权严禁转载本文,侵权必究。

利欧股份

2.8k
  • AI应用概念震荡走高,利欧股份涨停
  • 龙虎榜 | 利欧股份今日跌停,1家机构专用席位净买入272.05万元

评论

暂无评论哦,快来评价一下吧!