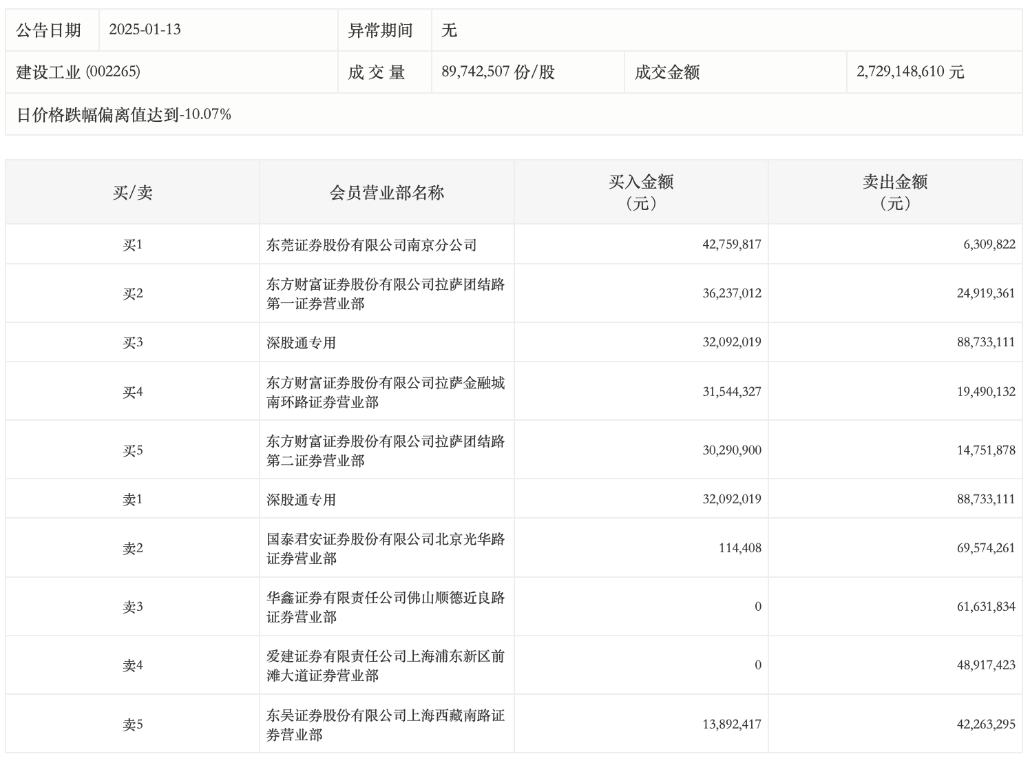
1月13日,建设工业今日跌停,龙虎榜数据显示,上榜营业部席位全天成交5.64亿元,占当日总成交金额比例为20.65%。其中,买入金额为1.87亿元,卖出金额为3.77亿元,合计净卖出1.9亿元。
具体来看,深股通专用、国泰君安证券北京光华路证券营业部分别卖出8873.31万元、6957.43万元;东莞证券南京分公司、东方财富证券拉萨团结路第一证券营业部分别买入4275.98万元、3623.70万元。

来源:界面新闻
1月13日,建设工业今日跌停,龙虎榜数据显示,上榜营业部席位全天成交5.64亿元,占当日总成交金额比例为20.65%。其中,买入金额为1.87亿元,卖出金额为3.77亿元,合计净卖出1.9亿元。
具体来看,深股通专用、国泰君安证券北京光华路证券营业部分别卖出8873.31万元、6957.43万元;东莞证券南京分公司、东方财富证券拉萨团结路第一证券营业部分别买入4275.98万元、3623.70万元。

评论