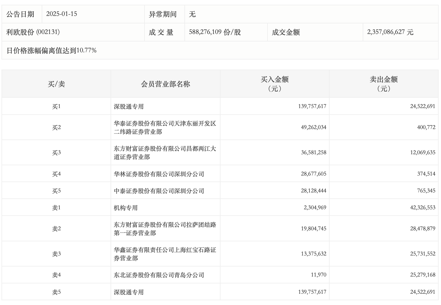
龙虎榜丨利欧股份今日涨停,深股通专用席位净买入1.15亿元

1月15日,利欧股份今日涨停,成交额23.57亿元,换手率10.05%。龙虎榜数据显示,深股通专用席位买入1.40亿元并卖出2452.27万元,一机构专用席位净卖出4002.16万元。

 

未经正式授权严禁转载本文,侵权必究。

利欧股份

2.5k
  • 利欧股份(002131.SZ):2025年三季报净利润为5.89亿元
  • 机构风向标 | 利欧股份(002131)2025年三季度已披露持仓机构仅8家

评论

暂无评论哦,快来评价一下吧!