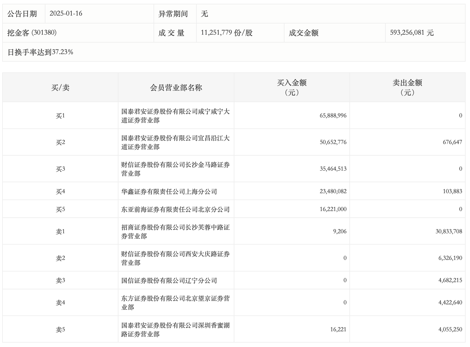
1月16日,挖金客今日涨停,龙虎榜数据显示,上榜营业部席位全天成交2.43亿元,占当日总成交金额比例为40.93%。其中,买入金额为1.92亿元,卖出金额为5110.05万元,合计净买入1.41亿元。
具体来看,国泰君安证券咸宁咸宁大道证券营业部、国泰君安证券宜昌沿江大道证券营业部分别买入6588.90万元、5065.28万元;招商证券长沙芙蓉中路证券营业部、财信证券西安大庆路证券营业部分别卖出3083.37万元、632.62万元。

来源:界面新闻
1月16日,挖金客今日涨停,龙虎榜数据显示,上榜营业部席位全天成交2.43亿元,占当日总成交金额比例为40.93%。其中,买入金额为1.92亿元,卖出金额为5110.05万元,合计净买入1.41亿元。
具体来看,国泰君安证券咸宁咸宁大道证券营业部、国泰君安证券宜昌沿江大道证券营业部分别买入6588.90万元、5065.28万元;招商证券长沙芙蓉中路证券营业部、财信证券西安大庆路证券营业部分别卖出3083.37万元、632.62万元。

评论