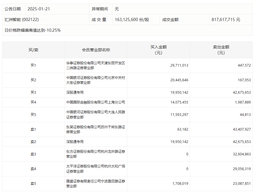
汇洲智能1月21日跌停,龙虎榜数据显示,上榜营业部席位全天成交2.71亿元,占当日总成交金额比例为33.15%。其中,买入金额为9754.68万元,卖出金额为1.73亿元,合计净卖出7593.32万元。
具体来看,知名游资现身龙虎榜,章盟主(东方证券股份有限公司杭州龙井路证券营业部)净卖出3260.49万元、宁波桑田路(国盛证券有限责任公司宁波桑田路证券营业部)净卖出2137.98万元。此外,东吴证券苏州干将东路证券营业部、深股通专用分别卖出4340.79万元、4267.57万元;华泰证券天津东丽开发区二纬路证券营业部、中国银河证券北京中关村大街证券营业部分别买入2971.10万元、2044.56万元。

评论