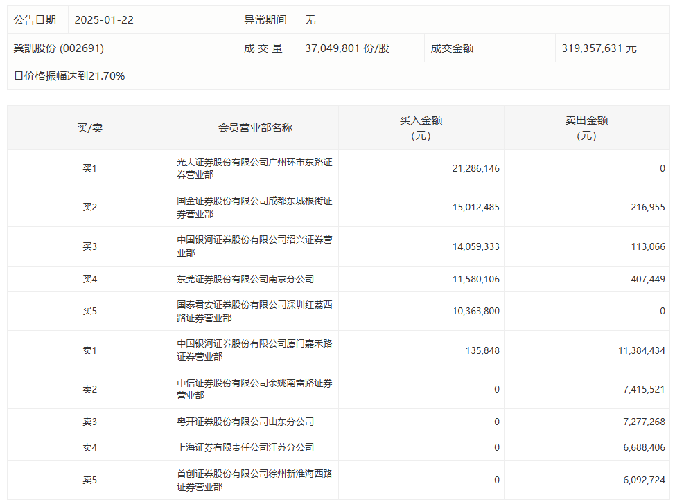
冀凯股份1月22日涨停,龙虎榜数据显示,上榜营业部席位全天成交1.12亿元,占当日总成交金额比例为35.08%。其中,买入金额为7243.77万元,卖出金额为3959.58万元,合计净买入3284.19万元。
具体来看,知名游资现身龙虎榜,赵老哥(中国银河证券股份有限公司绍兴证券营业部)净买入1394.63万元。此外,光大证券广州环市东路证券营业部、国金证券成都东城根街证券营业部分别买入2128.61万元、1501.25万元;中国银河证券厦门嘉禾路证券营业部、中信证券余姚南雷路证券营业部分别卖出1138.44万元、741.55万元。

评论