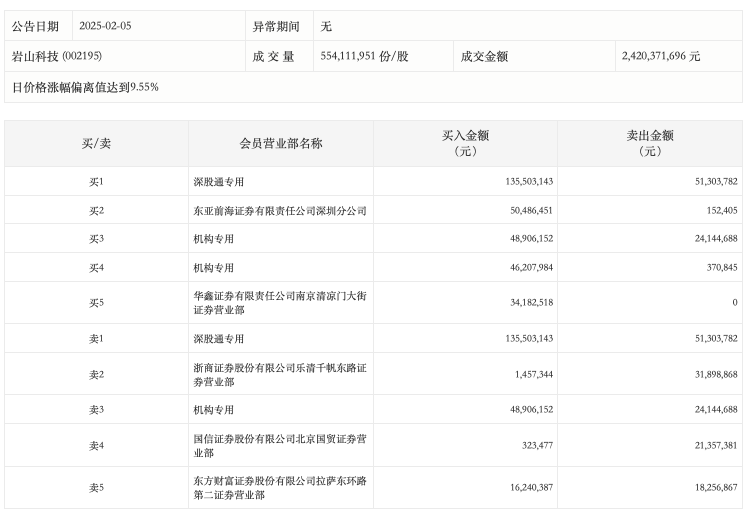
2月5日,岩山科技今日涨停,龙虎榜数据显示,上榜营业部席位全天成交4.81亿元,占当日总成交金额比例为19.86%。其中,买入金额为3.33亿元,卖出金额为1.47亿元,合计净买入1.86亿元。
具体来看,机构买入9511.41万元,卖出2451.55万元,合计净买入7059.86万元。此外,深股通专用、东亚前海证券深圳分公司分别买入1.36亿元、5048.65万元;深股通专用、浙商证券乐清千帆东路证券营业部分别卖出5130.38万元、3189.89万元。

来源:界面新闻
2月5日,岩山科技今日涨停,龙虎榜数据显示,上榜营业部席位全天成交4.81亿元,占当日总成交金额比例为19.86%。其中,买入金额为3.33亿元,卖出金额为1.47亿元,合计净买入1.86亿元。
具体来看,机构买入9511.41万元,卖出2451.55万元,合计净买入7059.86万元。此外,深股通专用、东亚前海证券深圳分公司分别买入1.36亿元、5048.65万元;深股通专用、浙商证券乐清千帆东路证券营业部分别卖出5130.38万元、3189.89万元。

评论