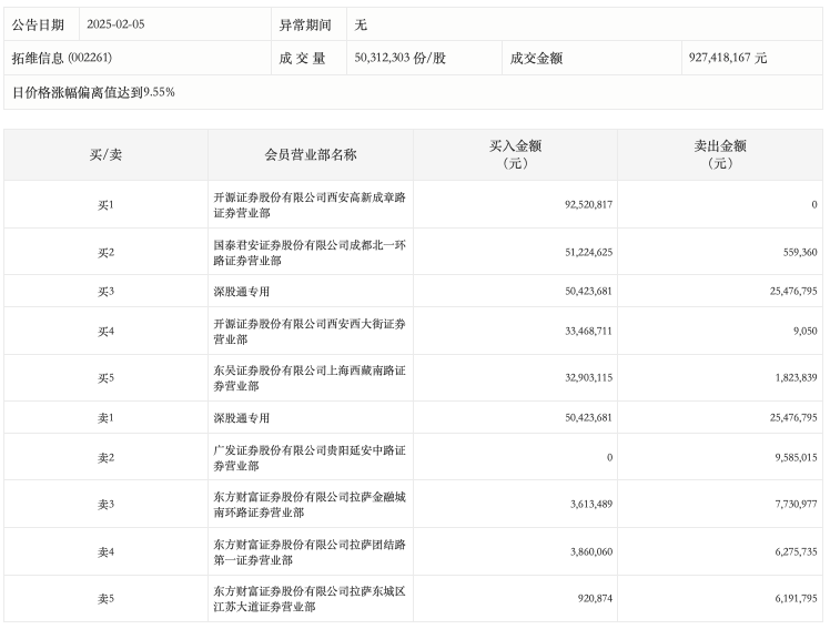
2月5日,拓维信息今日涨停,龙虎榜数据显示,上榜营业部席位全天成交3.27亿元,占当日总成交金额比例为35.21%。其中,买入金额为2.69亿元,卖出金额为5765.26万元,合计净买入2.11亿元。
具体来看,开源证券西安高新成章路证券营业部、国泰君安证券成都北一环路证券营业部分别买入9252.08万元、5122.46万元;深股通专用、广发证券贵阳延安中路证券营业部分别卖出2547.68万元、958.50万元。

来源:界面新闻
2月5日,拓维信息今日涨停,龙虎榜数据显示,上榜营业部席位全天成交3.27亿元,占当日总成交金额比例为35.21%。其中,买入金额为2.69亿元,卖出金额为5765.26万元,合计净买入2.11亿元。
具体来看,开源证券西安高新成章路证券营业部、国泰君安证券成都北一环路证券营业部分别买入9252.08万元、5122.46万元;深股通专用、广发证券贵阳延安中路证券营业部分别卖出2547.68万元、958.50万元。

评论