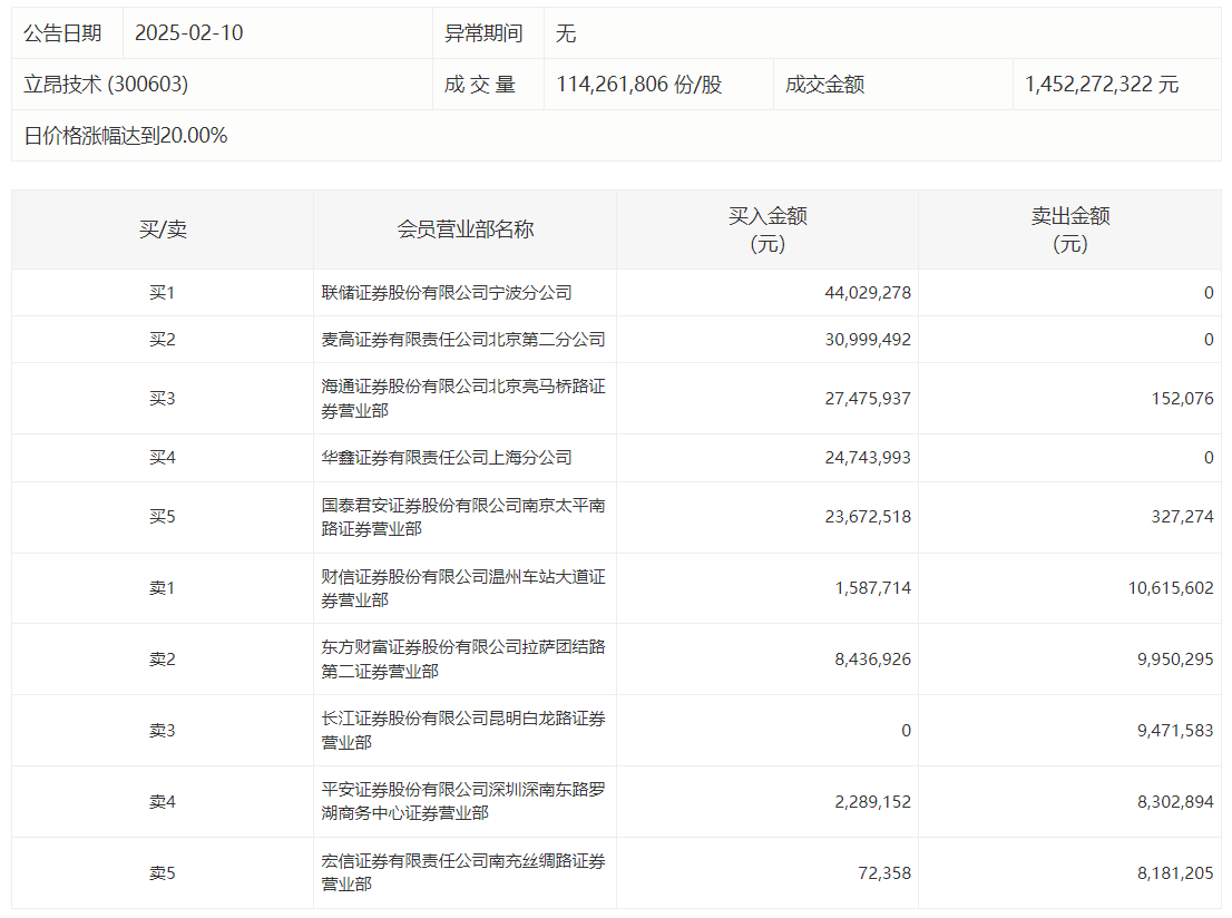
2月10日,立昂技术今日涨停,龙虎榜数据显示,上榜营业部席位全天成交2.1亿元,占当日总成交金额比例为14.48%。其中,买入金额为1.63亿元,卖出金额为4700.09万元,合计净买入1.16亿元。
具体来看,知名游资现身龙虎榜,作手新一(国泰君安证券股份有限公司南京太平南路证券营业部)净买入2334.52万元。此外,联储证券宁波分公司、麦高证券北京第二分公司分别买入4402.93万元、3099.95万元;财信证券温州车站大道证券营业部、东方财富证券拉萨团结路第二证券营业部分别卖出1061.56万元、995.03万元。

评论