协创数据今日大宗交易折价成交138.01万股,成交额1.08亿元

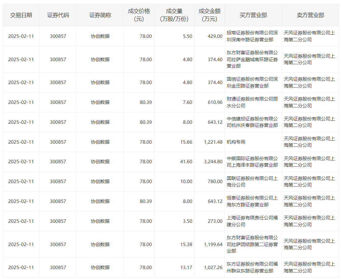
协创数据2月11日大宗交易成交138.01万股,成交额1.08亿元,占当日总成交额的8.61%,成交均价78.41元,较市场收盘价94.78元折价17.27%,其中最高成交价80.39元,最低成交价78元。

 

未经正式授权严禁转载本文,侵权必究。

协创数据

  • 协创数据:预计2025年度归母净利润同比增长51.78%-80.69%
  • 协创数据:融梦AI眼镜由公司参股企业子公司推出,预计2026年第一季度启动量产

评论

暂无评论哦,快来评价一下吧!