界面新闻logo
  • 首页
    • 科技
    • 金融
    • 证券
    • 地产
    • 汽车
    • 健康
    • 地方
    • 硬科技
    • 文旅
    • 数据
    • ESG
    • 双碳
    • 电厂
  • 商业
    • 科技
    • 地产
    • 汽车
    • 消费
    • 工业
    • 时尚
    • 交通
    • 医药
    • 互联网
    • 创投
    • 能源
    • 数码
    • 教育
    • 食品
    • 新能源
    • 家电
    • 健康
    • 酒业
    • 物流
    • 零售
    • 美妆
    • 体育
    • 楼市
    • 家居
    • 餐饮
    • 日用
    • 企服
    • 珠宝
    • 腕表
    • 智库
    • 电厂
    • 农业
    • 出海
  • 财经
    • 金融
    • 投资
    • 证券
    • IPO
    • 宏观
    • 股市
    • 财富
    • 有连云
  • 新闻
    • 天下
    • 中国
    • 地方
    • 评论
    • 数据
    • 职场
    • 国是
    • 文娱
    • 影像
    • 营销
    • 大湾区
    • ESG
    • 双碳
    • 长三角
    • 中西部
  • 文化生活
    • 文化
    • 文旅
    • 生活方式
    • 美食美酒
    • 艺术
    • 游戏
    • 正午
    • 箭厂
  • VIP
    • 投资早晚报
    • 宏观晚6点
    • 打新早报
    • 盘前机会前瞻
    • 盘中必读
    • 风口价值
    • 调研早知道
    • 研报新知
  • 快报
    • 今日热点
    • 公司头条
    • 股市前沿
    • 监管通报
    • 财经速览
    • 时事追踪
  • 界面号
    • 财经号
    • 城市号
    • 媒体号
  • 视频
    • 界面Vnews
    • 直播
    • 箭厂
    • 品牌创酷
    • 番茄社
    • 商业微史记
    • 胡说财经
  • 专题
    • 新闻专题
    • 活动专题
  • Global
登录
  • 消息
  • 我的面点
  • 我的关注
  • 我的文章
  • 投稿
  • 报料
  • 账号设置
  • 退出账号
旧版搜索
  • 新版搜索
  • 旧版搜索

历史搜索 全部删除

    热门搜索

      股市快讯
      光线传媒

      龙虎榜 | 光线传媒连续3日20%涨停,两机构卖出3.3亿元

      界面快报 · 来源:界面新闻

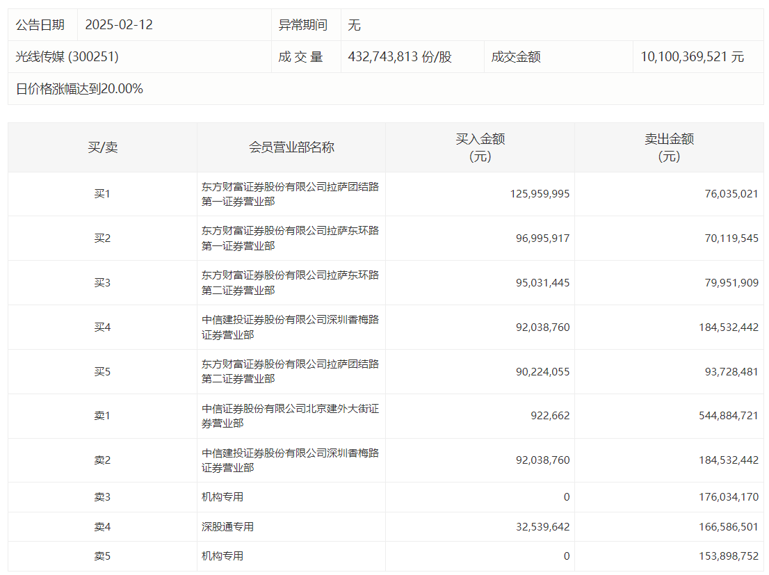
      2月12日,光线传媒连续3日20%涨停,盘后数据显示,买入前五席位中东财活跃营业部占据其中四席,两机构合计卖出3.3亿元,深股通净卖出1.34亿元。

       

      未经正式授权严禁转载本文,侵权必究。

      光线传媒

      3.1k
      • 光线传媒成立笑嘻兮创意科技公司14天前
      • 光线传媒:公司来源于电影《飞驰人生3》的营业收入约为4300万元至5300万元1个月前
      点赞
      收藏
      看评论
      分享至
      微博分享
      微信分享
      QQzone

      评论

      暂无评论哦,快来评价一下吧!
      热门排行April 04
      • 与辉同行就带货优思益致歉:将为用户先行垫付、全额退款
      • 豆包Token日均消耗量两年翻1000倍,火山引擎千亿营收目标再提速
      • 特朗普:美国对伊朗战事的核心战略目标“接近完成”
      • 近12小时大宕机后仅隔一天,DeepSeek再崩一小时后恢复
      • 汽车早报|智己汽车官宣刘翔为代言人 江淮汽车2025年归母净亏损17.03亿元
      • 美伊停火斡旋陷入僵局,伊朗拒绝在伊斯兰堡与美方会面
      • 一季度消费品以旧换新销售额超4300亿元,分析师:促消费政策将持续加力
      • 央行节后首日将开展8000亿元买断式逆回购,释放什么信号?
      • 特朗普再提打开霍尔木兹海峡“抢石油”
      • 美战机飞行员或被伊朗军方俘虏

      上海界面财联社科技股份有限公司 版权所有 © 2014-2026 JIEMIAN.COM

      • 关于我们
      • 联系我们
      • 广告合作
      • 注册协议
      • 投稿须知
      • 版权声明
      • 举报及处置