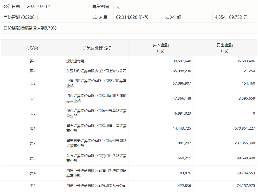
美格智能今日涨停,龙虎榜数据显示,上榜营业部席位全天成交14.95亿元,占当日总成交金额比例为34.32%。其中,买入金额为3.24亿元,卖出金额为11.71亿元,合计净卖出8.47亿元。
具体来看,知名游资现身龙虎榜,赵老哥(中国银河证券股份有限公司绍兴证券营业部)净买入5693.24万元。此外,深股通专用、东亚前海证券上海分公司分别买入9050.76万元、6508.82万元;国金证券深圳湾一号证券营业部、国泰君安证券泉州云鹿路证券营业部分别卖出6.71亿元、2.07亿元。

来源:界面新闻
美格智能今日涨停,龙虎榜数据显示,上榜营业部席位全天成交14.95亿元,占当日总成交金额比例为34.32%。其中,买入金额为3.24亿元,卖出金额为11.71亿元,合计净卖出8.47亿元。
具体来看,知名游资现身龙虎榜,赵老哥(中国银河证券股份有限公司绍兴证券营业部)净买入5693.24万元。此外,深股通专用、东亚前海证券上海分公司分别买入9050.76万元、6508.82万元;国金证券深圳湾一号证券营业部、国泰君安证券泉州云鹿路证券营业部分别卖出6.71亿元、2.07亿元。

评论