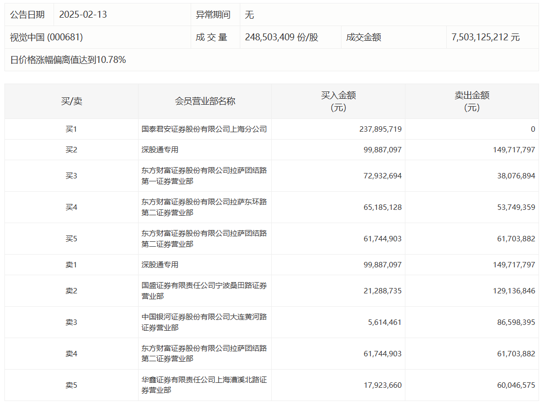
视觉中国今日涨停,龙虎榜数据显示,上榜营业部席位全天成交11.62亿元,占当日总成交金额比例为15.48%。其中,买入金额为5.82亿元,卖出金额为5.79亿元,合计净买入344.26万元。
具体来看,知名游资现身龙虎榜,国泰君安证券上海分公司、深股通专用分别买入2.38亿元、9988.71万元;深股通专用、宁波桑田路(国盛证券宁波桑田路证券营业部)分别卖出1.50亿元、1.29亿元。

来源:界面新闻
视觉中国今日涨停,龙虎榜数据显示,上榜营业部席位全天成交11.62亿元,占当日总成交金额比例为15.48%。其中,买入金额为5.82亿元,卖出金额为5.79亿元,合计净买入344.26万元。
具体来看,知名游资现身龙虎榜,国泰君安证券上海分公司、深股通专用分别买入2.38亿元、9988.71万元;深股通专用、宁波桑田路(国盛证券宁波桑田路证券营业部)分别卖出1.50亿元、1.29亿元。

评论