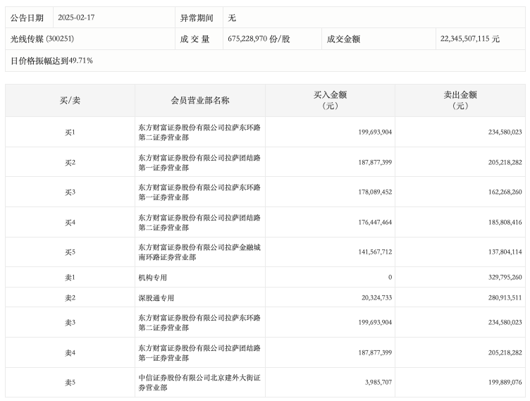
龙虎榜丨光线传媒今日跌14.6%,买方前五席位东财营业部合计购入8.84亿元

2月17日,光线传媒今日跌14.60%,成交额223.46亿元,换手率24.23%。盘后数据显示,买方五个席位均为东财活跃营业部,合计买入达8.84亿元;一机构净卖出3.3亿元,深股通净卖出2.61亿元。

 

未经正式授权严禁转载本文,侵权必究。

光线传媒

3.2k
  • 光线传媒:预计2025年归母净利润15亿元-19亿元,同比增长413.67%-550.65%
  • 光线传媒在北京成立一刻光文化科技公司

评论

暂无评论哦,快来评价一下吧!