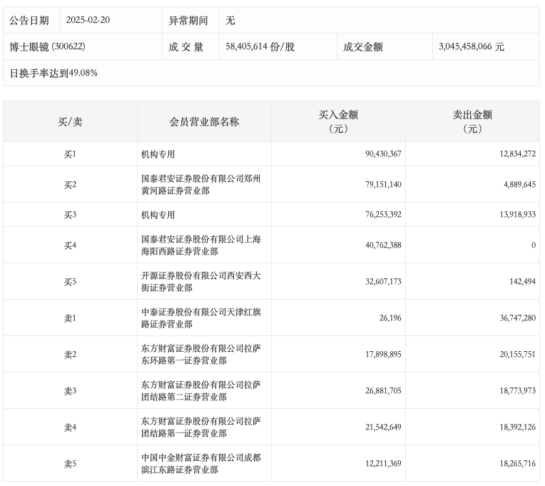
2月20日,博士眼镜今日涨停,龙虎榜数据显示,上榜营业部席位全天成交5.42亿元,占当日总成交金额比例为17.79%。其中,买入金额为3.98亿元,卖出金额为1.44亿元,合计净买入2.54亿元。
具体来看,机构买入1.67亿元,卖出2675.32万元,合计净买入1.4亿元。此外,国泰君安证券郑州黄河路证券营业部、国泰君安证券上海海阳西路证券营业部分别买入7915.11万元、4076.24万元;中泰证券天津红旗路证券营业部、东方财富证券拉萨东环路第一证券营业部分别卖出3674.73万元、2015.58万元。

评论