文 | 野马财经 于婞
编辑 | 武丽娟
刚花25.19亿拿下工业机器人龙头企业新时达(002527.SZ),“海尔系”在资本市场又落一子,这一次,海尔集团把触角伸向了全球领先的汽车互联网平台汽车之家(2518.HK)。
2月20日晚间,汽车之家公告称,海尔集团子公司CARTECH HOLDING COMPANY(下称“卡泰驰控股”)拟收购汽车之家2.01亿股股份,约占公司已发行普通股的41.91%,对价约为18亿美元(约合人民币130.52亿元)。
收购完成后,海尔集团旗下上市公司数量将达到8家,总市值超3500亿元。
5天内拿出155亿资金收购两家上市公司,海尔集团多点布局的同时,钱从哪来?
汽车之家利润持续下滑,海尔集团为何花130亿“豪赌”?

汽车之家成立于2005年,创始人是理想汽车(2015.HK)的老板李想,创立之初公司的定位是汽车爱好者分享信息和经验的平台,并迅速吸引了大量汽车爱好者。
2008年,澳洲电讯收购了汽车之家55%股份,2013年,汽车之家在纳斯达克完成上市。2015年,李想辞去了汽车之家总裁一职,退出了公司的日常管理。2016年,澳洲电讯出让股权,中国平安接盘,并以47.7%的持股成为汽车之家的控股股东。
在中国平安的主理下,汽车之家于2021年又在港交所挂牌上市,公司的业务范围也扩展至媒体服务、交易服务、数据服务、金融服务、技术研发等多个领域。不过主要收入来源还是来自媒体服务、线索服务、在线营销这三大类。
巅峰时期,汽车之家平台的月活跃用户数量达到了6403万,稳居行业第一。然而自2021年港股上市之后,公司净利润开始出现下滑,2020-2024财年分别是34.05亿元、22.49亿元、18.55亿元、19.35亿元、16.81亿元。

图源:wind
业绩表现不佳一方面是受外部环境影响,如市场竞争加剧、广告收入下降、用户行为变化等等,另一方面,汽车之家内部也存在业务转型未达预期、高层人事变动频繁以及与平安业务协同效果不理想等问题。
海尔集团在此时斥130亿巨资接盘,是一笔合算的买卖吗?
汽车之家曾在2023财年年报中提到,平安集团对公司具有重大影响力,而其利益可能与公司不一致。汽车之家还提到,自2011年10月以来,公司的che168.com网站一直专注于提供二手车信息及内容,若公司无法发展二手车相关业务,则可能无法实现预期的业务增长,经营业绩可能会受到不利影响。
而海尔集团旗下子公司卡泰驰自2021年起已布局二手车市场,涵盖高端改装、充电技术、家车互联等领域,并通过并购美驰名车、罗伦士等公司扩大业务版图。此次收购汽车之家的主体也是卡泰驰控股。
海尔集团表示,汽车之家的O2O线上线下发展战略与卡泰驰的战略协同,同时双方业务上能够形成互补。交易完成后,汽车之家将作为海尔汽车产业生态的关键枢纽,加速卡泰驰构建汽车产业新生态,完善海尔数字经济产业生态布局,最终更好地满足用户全流程、全生命周期的用车体验。另外双方将在用户深度体验、智能硬件链接及汽车新零售等领域深化合作,提升O2O智能交互能力。
2月20日,海尔集团官方微信公众号提到,中国平安将继续作为汽车之家的主要股东之一,通过云辰资本间接持有在汽车之家的剩余股份。交易完成后,汽车之家将作为海尔汽车产业生态的关键枢纽,在海尔和中国平安的共同支持下继续巩固发展现有业务。

图源:海尔集团官方微信公众号
另外,汽车之家在经营业绩下滑的同时,其股价也出现下挫,仅从港股来看,公司上市即巅峰,此后股价一路下滑,截至2月21日报收58港元/股,较176.3港元/股的发行价下跌67.1%。
国际智能运载科技协会秘书长张翔表示,大部分收购都是在公司市值比较低的时候,这样比较划算,所以如果汽车之家处于鼎盛时期,海尔反而会慎重考虑,如今收购性价比还是比较高的。因为海尔自身有资源,收购完后可以对汽车之家进行重整,有可能利用集团资源帮汽车之家重振雄风。
“另外海尔收购汽车之家可以帮助其二手车业务导流,从而对海尔的业务进行反哺。如今互联网卖车时代流量也很贵,汽车之家若运营得当市值还是有希望提升的。”张翔认为。
艾媒咨询CEO兼首席分析师张毅指出,“尽管汽车之家这几年利润在下滑,但公司还是有一定价值的。首先汽车之家历史悠久,作为国内比较头部的三大垂直行业网站,行业地位和用户数基础比较庞大,对于海尔集团进入汽车互联网领域、拓展未来的渠道是有帮助的。而随着智能汽车高速发展,汽车之家未来对于在线途径还是比较有优势的。”
张毅认为,在战略协同方面,这个业务形成数据流量,优化海尔在智能汽车车联网方面的布局,是有可行的。另外海尔旗下很多产品,比如智能家居、智能家电,与汽车之家的用户群体匹配度还是比较高的。长远来看,随着汽车行业、智能化电动化行业的发展,互联网平台的价值有望提升。
张翔指出,汽车之家就是汽车行业的垂直网站,也可以理解为汽车电商。如今海尔收购汽车之家,意味着海尔打算进入汽车销售领域,还表明海尔可能不会去造车了,而是从汽车市场领域进入。另外汽车之家被海尔收购也可能是公司内部出现了问题,导致业务和公司估值下滑,海尔收购之后内部估计会重新洗牌,这对公司未来发展也是有利的。
“海尔集团可以考虑汽车之家作为一个重要的渠道,为卡泰驰在二手车市场的发展和渠道布局,提供机会。但卡泰驰未来未必只做二手车。”张毅表示。
5天连买两家上市公司,155亿从哪来?
汽车之家是海尔集团2月以来购入的第二家上市公司。
就在2月16日,新时达公告称,公司股东纪德法、刘丽萍、纪翌与青岛海尔卡奥斯工业智能有限公司(下称“卡奥斯工业智能”)签署了股份转让协议,三人合计将上市公司10%股份及19.24%的表决权转让给卡奥斯工业智能。此外,卡奥斯工业智能还计划斥资12.19亿元参与新时达定增项目。
两笔交易完成后,卡奥斯工业智能直接获得新时达约2.19亿股股份,占公司总股本的26.83%。叠加接受委托的表决权,卡奥斯工业智能最终控制新时达的股权比例将超过40%。
卡奥斯工业智能是海尔集团全资控股的孙公司,海尔集团也因此将成为新时达的实际控制人。
据悉,标的股份转让价格约为19.61元/股,海尔共购入6630.6万股,交易价款合计为13亿元。两笔交易,卡奥斯工业智能最终斥资约25.19亿元。
再往前推,2024年12月22日,彼时市值100多亿元的海尔生物(688139.SH),公告称要吸收合并当时市值近500亿元的上海莱士(002252.SZ),上演“蛇吞象”。不过由于“交易结构较为复杂,尚未能形成相关各方认可的具体方案”,这场吸收合并在短短15天就宣布夭折。
两个月内对三家上市公司出手,并最终在5天内分别斥资25亿和130亿收购两家上市公司,海尔集团的巨款从哪来?是自有资金还是依靠融资?
两次交易中,新时达和汽车之家都未在公告中提及海尔集团收购资金的来源,海尔集团也表示,“鉴于交易信息保密原因,无法就资金来源置评。”
从公司盈利情况来看,海尔集团旗下共有6家上市公司,目前均未发布2024年业绩情况,但仅上半年和前三季度,有4家公司净利润都有所增长,分别是海尔智家(600690.SH)、上海莱士、雷神科技(872190.BJ)和众淼控股(1471.HK)。其中海尔智家上半年营收超千亿,达1356.23亿元,同比增长3.04%,净利润104.20亿元,同比增长16.25%。
另外两家上市公司海尔生物(688139.SH)和盈康生命(300143.SZ)前三季度净利润略有下降,但也分别达到了3.09亿元和0.83亿元。
6家上市公司中,4家存在短期借款,其中2024年前三季度,海尔智家短期借款106.82亿元;海尔生物短期借款0.19亿元;盈康生命短期借款1.9亿元;雷神科技短期借款2.17亿元。2家上市公司存在长期负债,其中2024年前三季度,海尔智家长期借款181.04亿元;盈康生命长期借款1.32亿元。
海尔集团还通过海尔金控在金融领域进行了广泛布局,海尔金控致力于成为“产业里最懂金融,金融里最懂产业”的生态品牌,注册资本117.366亿元,业务涉及融资租赁、金融保理、金融科技、PE/VC投资、产业并购、资产交易等领域,主体长期信用等级为AAA,资产规模超千亿元。
据悉,海尔金控有多个金融业务板块,包括“产业金融”服务平台“海尔产业金融”、供应链金融服务商“海尔金融保理”、产业全生态投资共创平台“海尔资本”、科技场景生态平台“云链科技”、母基金投资平台“海创母基金”以及数字科技服务平台“万链数科”。这些金融业务不仅为海尔集团带来了多元化的收入来源,也为其整体生态系统的构建提供了重要支持。
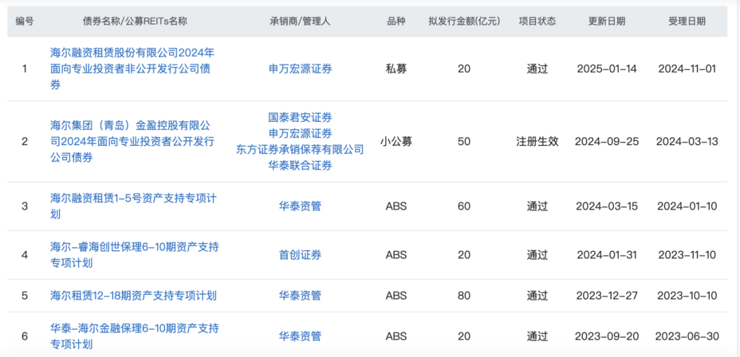
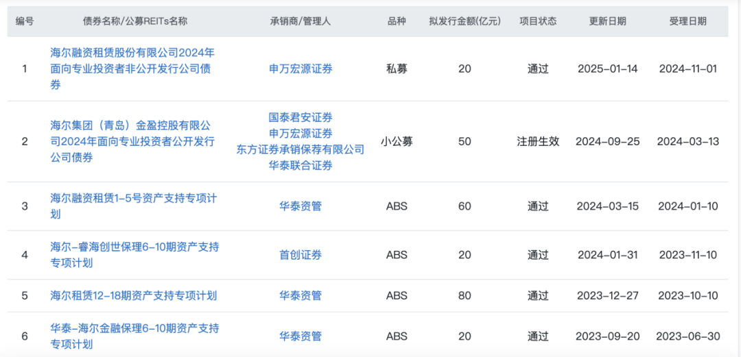
除此之外,在融资发债方面,海尔集团过去两年也是动作频频。上交所债券项目信息平台显示,2023年至今,海尔共计发行了9只债券、私募、ABS等,合计发行金额340亿元。其中2024年至今的发行金额是150亿元。


图源:上交所官网
可见,无论是自己赚的钱,或是银行贷款、融资发债,整个“海尔系”筹资能力还是很强悍的。这为公司资本版图的扩张提供了有力支撑。
“海尔系”资本版图扩至8家,总市值3500亿
海尔集团成立于1980年,前身是青岛电冰箱总厂,1984年,海尔集团创始人、董事局名誉主席张瑞敏接任了濒临倒闭的青岛电冰箱总厂厂长,并推行了一系列改革措施,让厂子起死回生,并一步步发展成为中国头部家电品牌。
在张瑞敏的带领下,海尔集团早早就开始布局资本市场。1993年,海尔智家在上交所挂牌上市,成为中国最早的上市公司之一。
上市后的海尔通过资本市场的融资功能不断壮大企业规模,实现了跨越式发展。2005年海尔生物成立,并于2019年在科创板上市,成为海尔集团旗下大健康板块盈康一生在生命科学产业的重要战略布局。
同样是2019年,海尔集团还收购了创业板上市公司星普医科,随后将其更名为盈康生命盈康生命(300143.SZ)。
2023年12月底,海尔集团又以125亿元的价格收购上海莱士20%的股份,另外被委托上海莱士6.58%的股票的表决权。2024年7月,海尔集团正式成为上海莱士实际控制人。
除了家电和生命健康领域,海尔集团还在2014年成立了 雷神科技(872190.BJ) 。雷神科技是海尔集团“人单合一”模式下投资孵化的创客公司,主要产品包括笔记本电脑、台式机、外设及周边(包括显示器、键盘、鼠标、耳机等)。2022年,雷神科技在北交所公开发行上市 。
2017年3月,保险中介公司众淼控股成立,并在同年9月成为海尔集团指定的保险代理服务提供商,为海尔集团处理并管理在中国所有与保险相关事宜。众淼控股于2024年8月上市后,海尔集团通过青岛海盈汇及青岛海创汇间接合计持有众淼控股约45.33%的股权。
再加上今年2月收购而来的新时达和汽车之家,目前“海尔系”即将集齐8家上市公司,相关业务布局横跨家电、智能家居、大健康、科技、保险等多个领域。
此外,海尔集团旗下“供应链独角兽”日日顺还曾递交IPO申请,但未上市成功,2024年末IPO折戟后被纳入海尔智家麾下。
截至2月21日收盘,海尔智家、海尔生物、盈康生命、上海莱士、雷神科技、众淼控股、新时达、汽车之家的总市值分别为2455.51亿元、107.63亿元、81.62亿元、449.39亿元、 43.4亿元、17.48亿港元(约合人民币16.31亿元)、108.48亿元、295.44亿港元(约合人民币275.72亿元),8家上市公司总市值合计约3500亿元。
随着“海尔系”一路开疆拓土,公司旗下产品也覆盖了人们生活的多个方面。你平时用到的海尔旗下品牌多吗?感受如何?评论区聊聊吧。



评论