界面新闻logo
  • 首页
    • 科技
    • 金融
    • 证券
    • 地产
    • 汽车
    • 健康
    • 地方
    • 硬科技
    • 文旅
    • 数据
    • ESG
    • 双碳
    • 电厂
  • 商业
    • 科技
    • 地产
    • 汽车
    • 消费
    • 工业
    • 时尚
    • 交通
    • 医药
    • 互联网
    • 创投
    • 能源
    • 数码
    • 教育
    • 食品
    • 新能源
    • 家电
    • 健康
    • 酒业
    • 物流
    • 零售
    • 美妆
    • 体育
    • 楼市
    • 家居
    • 餐饮
    • 日用
    • 企服
    • 珠宝
    • 腕表
    • 智库
    • 电厂
    • 农业
    • 出海
  • 财经
    • 金融
    • 投资
    • 证券
    • IPO
    • 宏观
    • 股市
    • 财富
    • 有连云
  • 新闻
    • 天下
    • 中国
    • 地方
    • 评论
    • 数据
    • 职场
    • 国是
    • 文娱
    • 影像
    • 营销
    • 大湾区
    • ESG
    • 双碳
    • 长三角
    • 中西部
  • 文化生活
    • 文化
    • 文旅
    • 生活方式
    • 美食美酒
    • 艺术
    • 游戏
    • 正午
    • 箭厂
  • VIP
    • 投资早晚报
    • 宏观晚6点
    • 打新早报
    • 盘前机会前瞻
    • 盘中必读
    • 金股挖掘
    • 调研早知道
    • 研报新知
  • 快报
    • 今日热点
    • 公司头条
    • 股市前沿
    • 监管通报
    • 财经速览
    • 时事追踪
  • 界面号
    • 财经号
    • 城市号
    • 媒体号
  • 视频
    • 界面Vnews
    • 直播
    • 箭厂
    • 品牌创酷
    • 番茄社
    • 商业微史记
    • 胡说财经
  • 专题
    • 新闻专题
    • 活动专题
  • Global
登录
  • 消息
  • 我的面点
  • 我的关注
  • 我的文章
  • 投稿
  • 报料
  • 账号设置
  • 退出账号
旧版搜索
  • 新版搜索
  • 旧版搜索

历史搜索 全部删除

    热门搜索

      股市快讯
      德赛西威

      德赛西威今日大宗交易折价成交39.46万股,成交额4855.17万元

      界面快报 · 来源:界面新闻

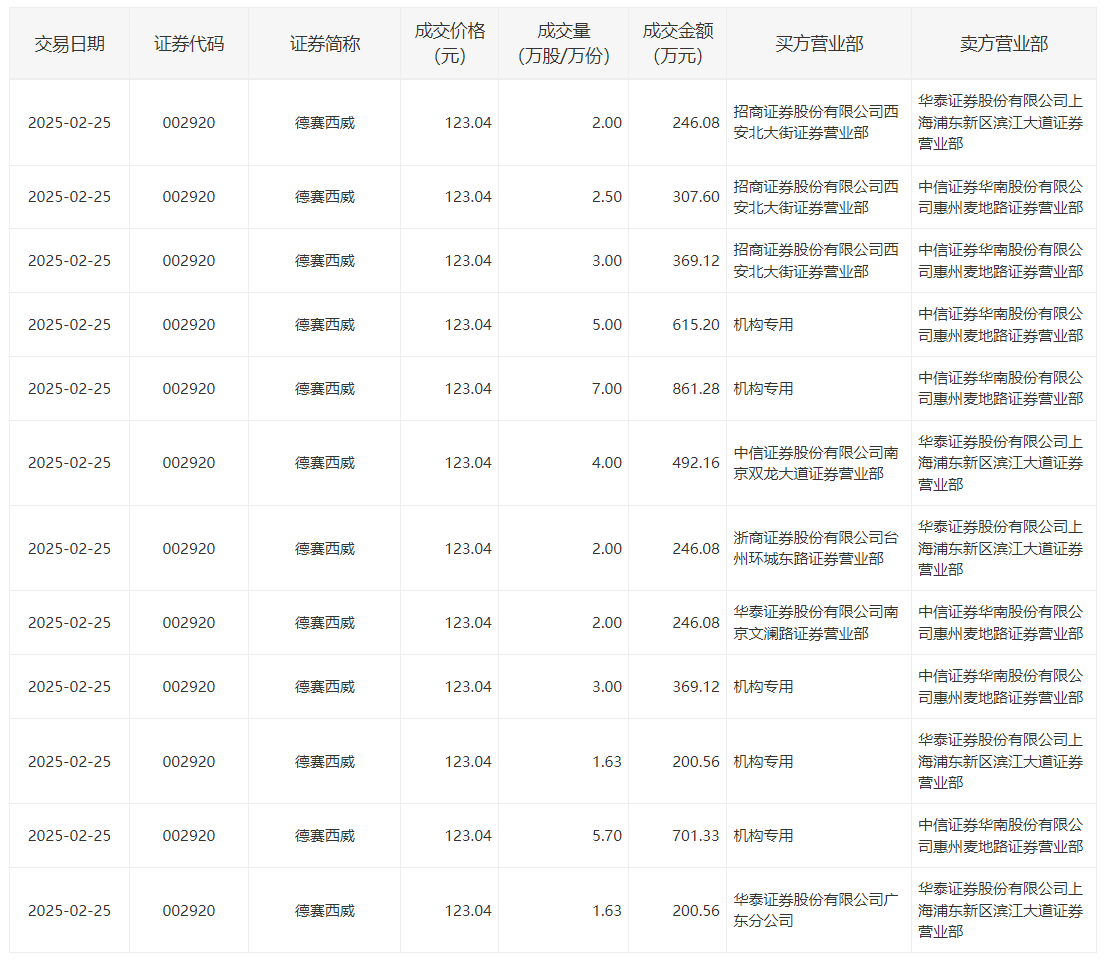
      德赛西威2月25日大宗交易成交39.46万股,成交额4855.17万元,占当日总成交额的3.59%,成交价123.04元,较市场收盘价133.85元折价8.08%。

       

      未经正式授权严禁转载本文,侵权必究。

      德赛西威

      131
      • 德赛西威等成立川行致远科技公司,注册资本1亿1个月前
      • 德赛西威(002920.SZ):2025年三季报净利润为17.88亿元3个月前
      点赞
      收藏
      看评论
      分享至
      微博分享
      微信分享
      QQzone

      评论

      暂无评论哦,快来评价一下吧!
      热门排行February 04
      • 事关隐藏式汽车门把手,强制性国家标准将于明年1月起实施
      • 直通部委|今年29省区市全面开展二轮土地延包试点 3.6亿驾驶人已申领电子驾驶证
      • 2026年工业企业利润修复仍面临多重挑战|宏观晚6点
      • 最高检:保持严惩态势,去年1-11月以洗钱罪起诉2684人
      • 地方两会部署绿色低碳转型,圈定产业发展重点
      • 广东省教育厅原厅长罗伟其69岁主动投案,曾推动随迁子女在粤高考
      • 外交部回应日本首相扬言将自卫队写入宪法:敦促日方深刻反省侵略历史
      • 首相主导,柬埔寨承诺在3个月内铲除电诈
      • 如何鼓起农民的钱袋?中央一号文件打出一套政策“组合拳”
      • 中央农办主任韩文秀:巩固拓展脱贫攻坚成果是长期任务,避免出现政策“悬崖效应”

      上海界面财联社科技股份有限公司 版权所有 © 2014-2026 JIEMIAN.COM

      • 关于我们
      • 联系我们
      • 广告合作
      • 注册协议
      • 投稿须知
      • 版权声明
      • 举报及处置