龙虎榜 | 中大力德今日涨停,深股通专用席位买入1.2亿元并卖出1.49亿元

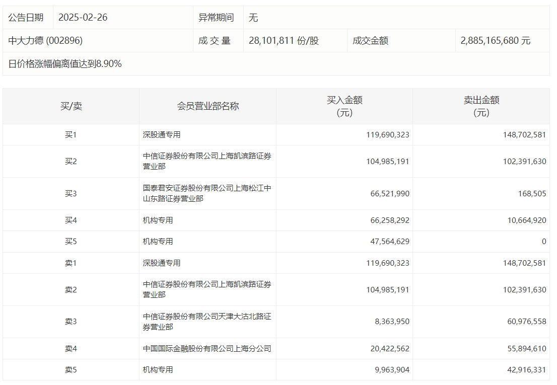
中大力德2月26日涨停,成交额28.85亿元,换手率18.59%,盘后龙虎榜数据显示,深股通专用席位买入1.20亿元并卖出1.49亿元,二机构专用席位净买入1.03亿元,一机构专用席位净卖出3295.24万元。

 

未经正式授权严禁转载本文,侵权必究。

中大力德

  • 中大力德(002896.SZ):2025年三季报净利润为5720.91万元
  • 午间涨跌停股分析:54只涨停股、10只跌停股,机器人概念活跃,中大力德涨停

评论

暂无评论哦,快来评价一下吧!