首页
科技
金融
证券
地产
汽车
健康
地方
硬科技
文旅
数据
ESG
双碳
电厂
商业
科技
地产
汽车
消费
工业
时尚
交通
医药
互联网
创投
能源
数码
教育
食品
新能源
家电
健康
酒业
物流
零售
美妆
体育
楼市
家居
餐饮
日用
企服
珠宝
腕表
智库
电厂
农业
出海
财经
金融
投资
证券
IPO
宏观
股市
财富
有连云
新闻
天下
中国
地方
评论
数据
职场
国是
文娱
影像
营销
大湾区
ESG
双碳
长三角
中西部
文化生活
文化
文旅
生活方式
美食美酒
艺术
游戏
正午
箭厂
VIP
投资早晚报
宏观晚6点
打新早报
盘前机会前瞻
盘中必读
金股挖掘
调研早知道
研报新知
快报
今日热点
公司头条
股市前沿
监管通报
财经速览
时事追踪
界面号
财经号
城市号
媒体号
视频
界面Vnews
直播
箭厂
品牌创酷
番茄社
商业微史记
胡说财经
专题
新闻专题
活动专题
Global
登录
消息
我的面点
我的关注
我的文章
投稿
报料
账号设置
退出账号
旧版搜索
新版搜索
旧版搜索
历史搜索
全部删除
热门搜索
股市快讯
招商公路
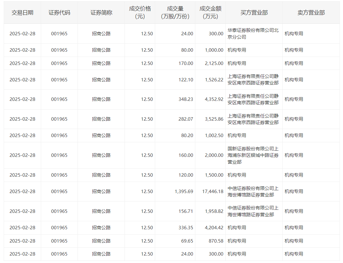
招商公路今日大宗交易折价成交3369万股,成交额4.21亿元
界面快报
·
来源:界面新闻
招商公路2月28日大宗交易成交3369万股,成交额4.21亿元,占当日总成交额的58.53%,成交价12.5元,较市场收盘价13.79元折价9.35%。
未经正式授权严禁转载本文,侵权必究。
招商公路
招商公路:拟向招商局慈善基金会捐赠1500万元,用于开展扶贫济困等公益活动
1个月前
招商公路(001965.SZ):2025年三季报净利润为40.12亿元、同比较去年同期下降3.56%
3个月前
点赞
收藏
看评论
分享至
微博分享
微信分享
QQzone
评论
暂无评论哦,快来评价一下吧!
热门排行
February 12
萃华珠宝陷流动性危机,加盟商称因账户冻结无法向总部采货
高市早苗执政明显倾向民粹主义,日本国内日益担忧政局走势
直通部委|国家层面海外综合服务平台正式上线 春节假期有奖发票奖金将超10亿元
2026年“反内卷”政策或进入精细化、差异化实施阶段|宏观晚6点
经营者集中委托审查试点如何提效能?陕西省市监局答界面新闻
只邀请共和党籍州长出席?美国全国州长协会抵制特朗普白宫峰会
UU跑腿回应代磕头服务下架,相关订单予以三倍金额补偿
外交部回应特朗普涉中加合作言论:中加构建新型战略伙伴关系不针对任何第三方
鸿蒙智行诉自媒体“我是大彬同学”一审胜诉, 被告被判赔150万并公开致歉
蔚来和极氪发起共计28万辆汽车召回,监管约束汽车公司走向规范
评论