文|青眼 夜白
今日,青眼从全国企业破产重整案件信息网获悉,上海市第三中级人民法院于2月27日裁定宣告上海华伊美化妆品有限公司(下称:上海华伊美)破产并终结其破产程序。这意味着,这家20年的老牌化妆品企业正式破产。
据了解,上海华伊美关系紧密的祛痘品牌泽平一度成为国内祛痘领域的代表性品牌。由此,在上海华伊美走入破产之际,泽平品牌的命运也引发关注。

20年老牌化妆品企业破产
公开资料显示,华伊美集团创始人张某华出身于中医世家,集团前身为制药公司成立于1992年,钻研中草药功效护肤品及大健康产品研发制造。工商信息则显示,上海华伊美成立于2003年,公司法定代表人、受益人、实际控制人均为张某华,张某杰为公司监事。
据公开信息显示,华伊美集团旗下拥有泽平、显臣、华伊美、EIEVI(伊微)、塔期曼等品牌,其中泽平的名气更大。据华伊美集团公开资料,泽平是中国较早研制中草药国妆的品牌。上海华伊美曾拥有泽平第3类日化化妆品商标,也是泽平微信公众号的主体公司。另据公开报道,泽平以祛痘产品见长,曾创下过年销过亿的成绩。

在充满考验的2021年,华伊美集团甚至扩大产业规模和品类,启用智能新工厂。据悉,华伊美集团智能新工厂占地2万多平方,一期化妆品生产车间年产值可达30亿元。彼时,华伊美集团还提出用3-5年时间打造更多优质的国货精品和名品,成为符合上市标准的优秀企业。可见,华伊美集团当时对未来充满信心与斗志。
可惜好景不长。根据全国企业破产重整案件信息网此前发布的公告,2023年11月8日,自然人叶加莉以上海华伊美不能清偿到期债务且明显缺乏清偿能力为由向法院申请破产清算一案被正式立案。
也是从那时开始,上海华伊美以1元拍卖专利、官司缠身……开始走上了破产的不归路。
据天眼查信息显示,截止发稿,上海华伊美关联的司法案件共有81起,限制消费金额1156.6万元、失信被执行人涉及金额达1037.21万元。
直到昨日,上海市第三中级人民法院裁定宣告上海华伊美破产并终结其破产程序,为这起破产案画上了句号。目前,该企业已被列入经营异常名录。
上海华伊美破产流程时间线
1
2023年11月8日
上海华伊美破产清算一案立案
2
2023年11月27日
法院受理上海华伊美破产清算案
3
2024年2月26日-4月23日
上海华伊美开始拍卖化妆品库存、商标、专利等资产
4
2024年11月26日
职工债权公示约140.4万元
5
2025年2月27日
法院裁定宣告上海华伊美破产并终结其破产程序
泽平品牌仍正常运转
在听到上海华伊美破产的消息,尤其是当了解到泽平与其之间的关系后,不少业内人士表示惋惜。那么,作为一个曾经创下了不俗成绩的功效护肤品牌,在上海华伊美破产后,泽平将何去何从?
就此消息,青眼第一时间联系到张某杰了解详情,她表示“一言两语说不清。”并强调“华伊美只是泽平的加工方,跟泽平没有关系。”当青眼继续追问泽平品牌的归属以及未来规划时,对方仅回复称“品牌在(正常)运作”。
据青眼今日调查,目前泽平在天猫、抖音、小红书上的账号或店铺确实在正常运转。据天猫“泽平化妆品旗舰店”显示,该店内仅上架了大痘净精露、小痘净精露、洁面3款产品,产品历史成交量最高1000+单。据了解,该天猫店经营主体为上海安禧生物科技有限公司,该公司主要成员之一为张某杰。

截自天猫泽平化妆品旗舰店
而泽平小红书账号近一周也相当活跃,发布了多条图文笔记。这似乎也印证了,泽平确实未受到上海华伊美破产的影响。
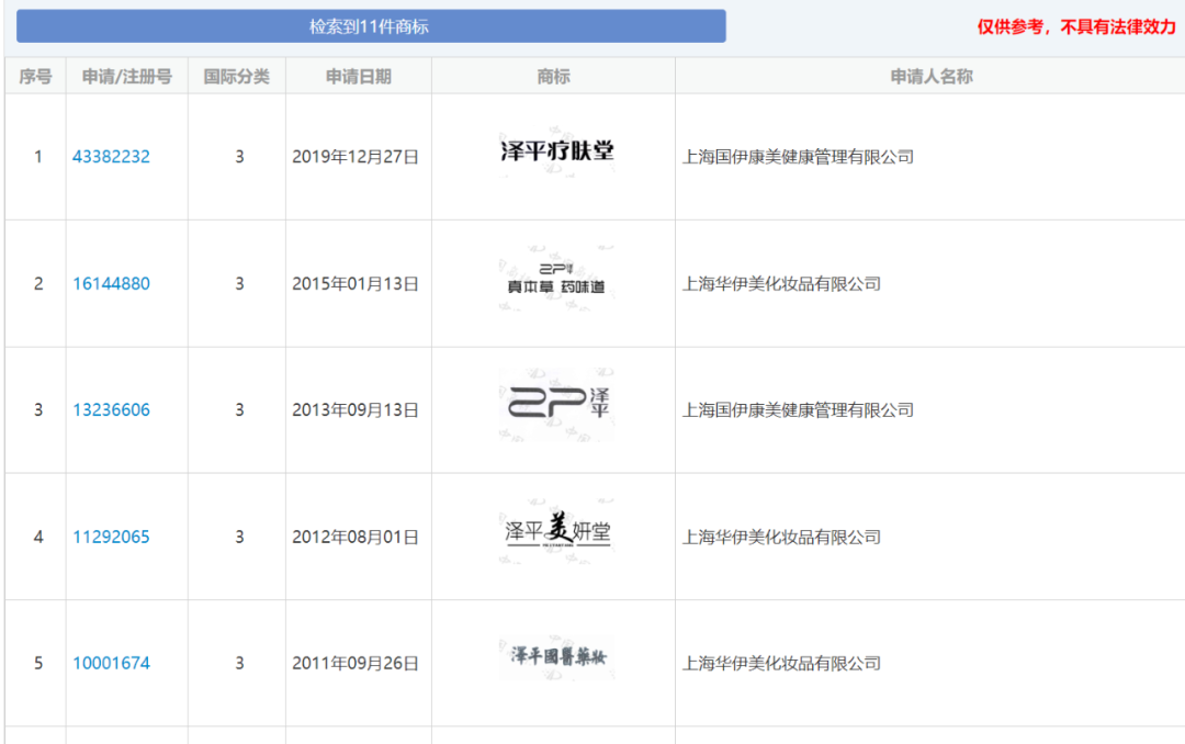
另据青眼调查,泽平大痘净精露、小痘净精露的备案人均为上海国伊康美健康管理有限公司(下称:国伊康美),张某华、张某杰都曾是该公司历史法定代表人。从中国商标网和企查查信息来看,一系列有关“泽平”的第3类日化化妆品商标早已由上海华伊美转让给国伊康美。
值得注意的是,上海华伊美也曾申请了如“泽平美妍堂”等第3类商标,但都显示为“申请被驳回、不予受理等,该商标已失效”。此外,“ZEPING GUOYI YAOZHUANG”第3类商标已被上海华伊美拍卖。

截自中国商标网
尽管泽平一切正常,但从国家药监局化妆品备案系统来看,品牌推新节奏比较慢,产品较单一,最近备案的产品ZP泽平净透控油平衡精华水还是2024年3月备案。
据青眼情报《2024中国化妆品年鉴》,2024年祛痘化妆品市场规模为200.7亿元,同比增长86.76%。从天猫、抖音等电商平台上的TOP品牌来看,既有科颜氏、黛珂、薇诺娜等成熟品牌,也有如稀物集、温博士等新品牌表现强势。
市场规模快速增长说明祛痘化妆品市场仍充满机会,但新品牌、新产品、新成分与新技术的涌现,也促使市场格局发生了转变,竞争也愈发激烈。在此种情况下,如果品牌长期依赖单一产品,缺乏新品创新能力,不免会削弱消费者的参与感,使消费者认为品牌缺乏活力,从而影响其市场地位。对泽平而言,能否再现昔日辉煌,无疑充满了未知与挑战。
破产潮还在席卷美妆行业
站在全行业来看,近几年,受到疫情冲击影响和化妆品新规全面提升行业准入门槛,从工厂到品牌方再到化妆品店,一波接一波地倒下。据青眼粗略统计,2024至少有46家化妆品相关企业进入破产清算程序。
进入2025年,行业破产潮仍在继续,青眼此前统计,开年来已至少有8家化妆品企业进入破产程序或被强制清算。另外,也出现像欧莱雅、资生堂等国际集团旗下品牌关店或退出中国市场,这无不说明即使是拥有强大品牌影响力和资源支持的国际企业,也难以在激烈的市场竞争中独善其身。
在一位不愿具名的业内人士看来,就当下化妆品行业的内卷程度来说,“资历很重要,但实力和持续创新能力更重要。” 他认为,老牌企业的历史积淀固然能为其带来一定的品牌信任度,但如果缺乏持续的创新能力和市场应变能力,资历反而可能成为企业转型的包袱。
对于行业的大洗牌,在2024年年末,《青眼在一线》栏目深入华东、华南29家化妆品企业走访时,青松股份董事长、诺斯贝尔CEO范展华认为,在存量竞争的市场里,只有那些高效率、有资源整合能力、创新能力,而且非常规范的工厂才会有续航。
科玛化妆品(无锡)有限公司董事长金正虎也告诉青眼,竞争已经越来越激烈,消费需求正在升级,变得更加多样化,作为美妆工厂,在提高产品品质的同时,还要保障高效率。
这也就是说,化妆品行业的未来,属于那些能够在变革中不断进化、在挑战中寻找机遇的企业。



评论