首页
科技
金融
证券
地产
汽车
健康
地方
硬科技
文旅
数据
ESG
双碳
电厂
商业
科技
地产
汽车
消费
工业
时尚
交通
医药
互联网
创投
能源
数码
教育
食品
新能源
家电
健康
酒业
物流
零售
美妆
体育
楼市
家居
餐饮
日用
企服
珠宝
腕表
智库
电厂
农业
出海
财经
金融
投资
证券
IPO
宏观
股市
财富
有连云
新闻
天下
中国
地方
评论
数据
职场
国是
文娱
影像
营销
大湾区
ESG
双碳
长三角
中西部
文化生活
文化
文旅
生活方式
美食美酒
艺术
游戏
正午
箭厂
VIP
投资早晚报
宏观晚6点
打新早报
盘前机会前瞻
盘中必读
金股挖掘
调研早知道
研报新知
快报
今日热点
公司头条
股市前沿
监管通报
财经速览
时事追踪
界面号
财经号
城市号
媒体号
视频
界面Vnews
直播
箭厂
品牌创酷
番茄社
商业微史记
胡说财经
专题
新闻专题
活动专题
Global
登录
消息
我的面点
我的关注
我的文章
投稿
报料
账号设置
退出账号
旧版搜索
新版搜索
旧版搜索
历史搜索
全部删除
热门搜索
股市快讯
招商公路
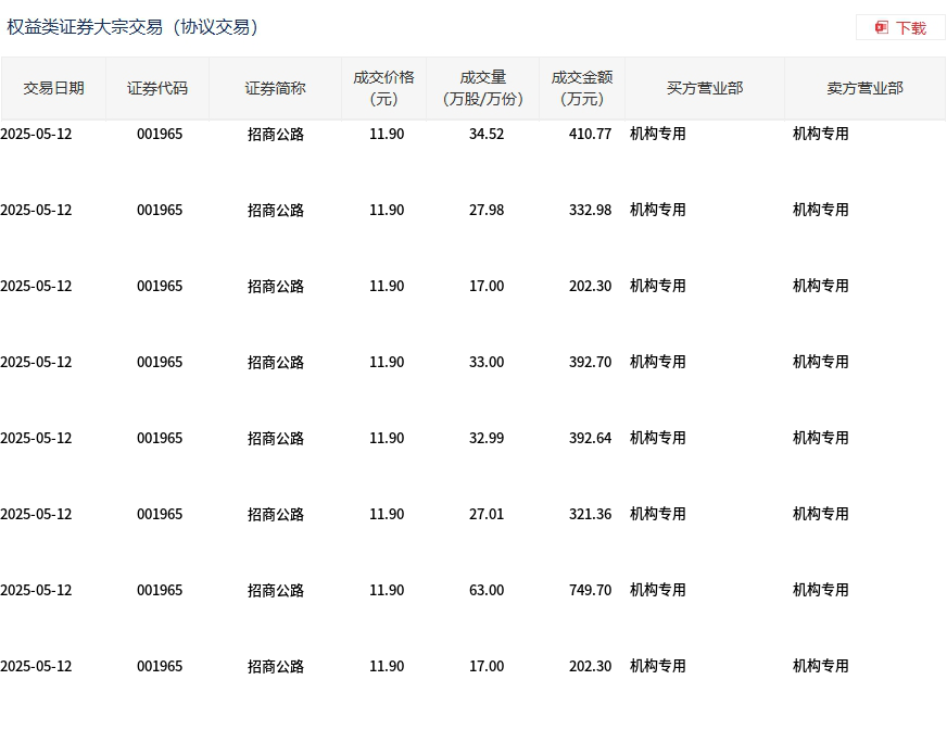
招商公路今日大宗交易折价成交252.5万股,成交额3004.75万元
界面快报
·
来源:界面新闻
5月12日,招商公路大宗交易成交252.5万股,成交额3004.75万元,占当日总成交额的12.17%,成交价11.9元,较市场收盘价13.01元折价8.53%。
未经正式授权严禁转载本文,侵权必究。
招商公路
招商公路:拟向招商局慈善基金会捐赠1500万元,用于开展扶贫济困等公益活动
1个月前
招商公路(001965.SZ):2025年三季报净利润为40.12亿元、同比较去年同期下降3.56%
3个月前
点赞
收藏
看评论
分享至
微博分享
微信分享
QQzone
评论
暂无评论哦,快来评价一下吧!
热门排行
February 14
新一轮美伊谈判和美俄乌会谈17日在瑞士日内瓦举行
中德法举行三方外长会晤
汽车早报|长安汽车已就两起自媒体涉嫌网络侵权行为提起诉讼 日本七大车商预计2025财年共计净利润减35.5%
王毅会见美国国务卿鲁比奥
特朗普称将访问委内瑞拉
王毅在慕尼黑中方驻地会见美国务卿鲁比奥
京东春节9天投入超13亿,未来5年要花220亿建“小哥之家”
直通部委|1月份商品房售价环比降幅总体收窄 去年法院受理危险驾驶犯罪同比下降近16%
PPI或在二季度实现正增长|宏观晚6点
货币政策靠前发力,M2和社融保持较高增速
评论