文 | 镜象娱乐 栗子酒
潮玩市场又有新动作。
近日,北京乐自天成文化发展股份有限公司(以下简称“乐自天成”)正式向港交所递交IPO申请,拟于主板挂牌上市。值得注意的是,乐自天成的核心品牌为52TOYS,该品牌是伴随着“谷子经济”热潮发展起来的头部品牌之一。
根据乐自天成招股书援引灼识咨询的数据,按2024年的GMV计算,52TOYS是中国第三大IP玩具公司。不过,这个头衔的含金量并不算高,因为对应到具体数值上,排在前两位的公司,大概率是已经上市的泡泡玛特和布鲁可,而排名在第三至第五位的公司,其年度GMV相差不足0.1亿元,且相应的市场份额都为1.2%。

也就是说,在竞争激烈的潮玩市场,52TOYS当前的市场排名并不稳定。伴随着谷子经济的飞速发展,前有泡泡玛特将市值拉至3000亿的高位,后有TOP TOY传出将拆分上市的消息,在市场排位随时可能改写的环境下,52TOYS拟赴港上市,还要讲出更多能够让资本市场买单的新故事。
收入不及泡泡玛特5%,52TOYS的业绩不算亮眼
灼识咨询数据显示,2020年至2024年,以GMV计,中国IP玩具市场是全球IP玩具市场中增长最迅速的区域之一,规模从486亿元增至756亿元,预计在2029年进一步增至1675亿元。
在近乎疯狂的增长过程中,潮玩市场出现了不少利润飞速攀升的“暴利神话”。然而,从乐自天成的招股书来看,52TOYS的业绩表现却并不算好看。
2022年至2024年,52TOYS的年度营收分别为4.63亿元、4.82亿元、6.3亿元。作为对比,2024年,泡泡玛特全年营收130.38亿元,同年度内,52TOYS的收入甚至不及后者的5%。另外,卡游全年营收超100亿元,另一家IP玩具公司布鲁可的年营收为22.41亿元,名创优品旗下的TOP TOY年营收为9.8亿元。

利润方面,52TOYS的表现就更差强人意了。2022年至2024年,52TOYS的经调整净利润为-0.57亿元、0.19亿元及0.32亿元,也就是说,公司在2022年时还处在亏损的状态,扭亏为盈之后,52TOYS的利润规模也不算大,且没有呈现出太大的增长空间。相比之下,2024年,泡泡玛特和卡游的净利润仍保持着三位数的高增长。
出现这样的情况,一个重要原因在于,52TOYS的毛利率在同类公司中一直较低。根据招股书数据,2022年至2024年,52TOYS的毛利率分别为28.9%、40.5%和39.9%,虽然出现了一定程度的增长,但与同赛道的其他公司相比,仍然差距较大。比如在2024年,泡泡玛特和布鲁可的毛利率分别为66.8%和52.6%。
而较低的毛利率,取决于公司的商业收入结构。一方面,52TOYS的主要收入来自于授权IP,招股书数据显示,2022年至2024年,公司来自授权IP的收入占比分别为50.2%、59.3%和64.5%,逐年递增。其中,仅蜡笔小新相关产品在2022年至2024年的累计GMV就超过6亿元,占三年总收入的近40%。而授权IP需要公司支付相应的IP授权成本,报告期内,52TOYS的IP授权费用累计达1.03亿元。

另一方面,根据招股书数据,单在原创IP上,52TOYS的毛利率也在40%左右,同样低于同赛道的其他公司。这是因为52TOYS尝试以量扩大占位,平均每年产出500+新SKU,在这一方向上,52TOYS覆盖到静态玩偶、可动玩偶、发条玩具、变形机甲及拼装玩具、毛绒玩具及衍生周边等多品类的IP玩具产品,而在销售端,其营收和利润表现都可以看出,公司还没有产出一个能够持续复购、持续支撑业绩的IP,因此在销售数量有限的情况下,成本难以摊薄,毛利率自然就更高。
资本持续看好:五轮融资、万达儒意突击入股
尽管直到目前,52TOYS的业绩还不突出,但资本市场对其发展却持续看好。
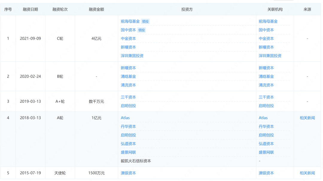
企查查数据显示,从乐自天成成立的2015年至2021年,公司共计拿到五轮融资,其中C轮融资金额达到4亿元。

另外,在乐自天成正式递交IPO申请的前10天,万达电影和中国儒意旗下公司突击入股。公告中称,万达电影子公司北京影时光电子商务有限公司,与关联方上海儒意星辰企业管理有限公司,拟以1.44亿的对价购得乐自天成7%的股权。交易完成后,“万儒系”已然成为乐自天成的第六大股东。
资本持续注资有两方面的原因,一个是在宏观层面,谷子经济的发展势头凶猛,能够通过52TOYS乘上这一风口,是一个不错的选择。
另一个是在公司自身的发展上, 52TOYS较低的业绩表现也不完全是因为经营的原因,在此前的多轮融资中,公司发行给多名投资方的股份中,还会附带优先权股份,这部分股权会按公允价值计量转入当期损益的金融负债中,相应负债也会稀释一定的利润。
招股书数据显示,2022年至2024年,相应的金融负债分别为6.6亿元,7.07亿元和8.59亿元,与之对应,公司拥有人应占年内亏损分别为171万元、7193万元、1.22亿元。也就是说,抛开这部分损益,公司的业绩会更好看一些。
另外,52TOYS的发展模式已经逐渐成熟。尽管公司创始人陈威曾多次公开强调与泡泡玛特的区别,但现实情况是,除了IP差异,两家公司所生产的产品品类相似度非常高。而泡泡玛特当前已经坐上头把交椅,52TOYS的前景也值得期待。这并不是基于大环境向好的盲目看好,而是在52TOYS的长期发展中,已经显现出原创IP的商业化价值,IP玩具的设计和生产能力。

换个角度看,虽然授权IP是52TOYS目前的主要收入来源,但公司也一直在做原创IP,且已经出现了一些发展得还不错的案例。比如2022-2024年,猛兽匣系列产品的GMV超1.9亿元,Sleep累计GMV超2亿元,胖哒幼(Panda Roll)累计GMV达到1.8亿元。这验证了52TOYS在孵化原创IP上的能力,相比于非独家授权的授权IP产品开发,原创IP的孵化能力更具持续性和稳定性。
同样,52TOYS覆盖面更广的产品线虽然在眼下拉高了生产成本,但也意味着,公司多样的产品线能够满足多元化的生产和合作场景。比如在与电影《流浪地球2》合作时,52TOYS便基于影片的科幻属性,设计了变形机甲和拼装玩具等富有科技感的产品,其中,机械狗笨笨相关衍生品在众筹期间预售额达1.2亿元。而若现金链更充足时,公司的产品线也可能会爆发更大的创造力。
上市后的新故事:看向自营和海外市场
从这个角度来讲,52TOYS的商业上限有望拉得更高,尤其是万达、儒意入场之后,公司的发展也有望打开新的局面。
一者,万达、儒意作为头部影视公司,手中握着大量的优质影视IP,双方的合作能够进一步扩充52TOYS的IP储备。同时,儒意入主万达之后,万达电影的产业链进一步拉长,开发衍生品也成为公司发展的新方向,这意味着,未来双方有着广阔的合作空间。
不止如此,在合作头部IP上,万达和儒意也有能力接触更顶级的资源。除了影视IP,与头部游戏IP的合作同样前景广阔。前不久,万达电影在业绩说明会上提到,2025年,公司将与腾讯、网易等各大游戏厂牌旗下的5款头部游戏开发联名IP产品。其中,《第五人格》相关活动已于4月上线,衍生品GMV突破1000万。而在之后的合作中,52TOYS大概率会加入其中,以合作的形式扩充IP,甚至有望收窄相关的授权成本。

二来,万达、儒意选择与52TOYS合作,还有一个原因在于提升影院空间的变现效率。基于庞大的线下影院渠道,万达电影尝试通过引入策展、主题联名、艺术文创等内容生态和消费场景,打造新一代影院延展空间,即时光里潮流艺术商店。站在52TOYS的角度看,这也将成为公司拓展线下销售渠道的好机会。
需要了解的是,在过去的发展中,52TOYS的增长受限,还有一部分原因在于过度依赖经销商。招股书数据显示,2022年至2024年,公司来自经销商的收入占比一直都在60%以上,长期与经销商分利不只限制了自身的利润空间,将最终定价权交给经销商,也加大了维护IP形象的难度,这也是52TOYS至今还没有大热门原创IP的原因之一。相比之下,借助影院渠道,更接近于自营渠道,也有利于改善这一局面。
从52TOYS的发展规划来看,公司也有意解决这一问题。根据招股书信息,52TOYS计划在未来几年,于中国选定城市和海外市场分别开设逾100家自营品牌店。前者有望缓解公司对经销商的依赖,后者将进一步巩固52TOYS在海外市场的优势。
招股书数据显示,52TOYS已将销售渠道拓展至东南亚、日韩及北美等海外市场,2022年至2024年,公司的海外收入从3536万增长至1.47亿元,占比分别为7.6%、12.1%和23.4%。其中在2024年,52TOYS的海外收入同比增长149.15%,增速明显优于国内市场。未来,52TOYS也会继续在海外市场发力,进一步拓宽公司的增长渠道。

由此而言,在长期发展上,52TOYS的前景值得期待。只是当前的业绩能否说服二级市场,还需要打上个问号。


评论