文 | 独角金融 郑理
8月19日,浙江金融监管局批复,核准鲁伟鼎万向信托股份有限公司(下称“万向信托”)董事长的任职资格。

除了核准鲁伟鼎的任职资格外,3位独立董事唐林林、于建强、吴仲春的任职资格也于同日获批。
近年,万向信托高管接连调整。2024年11月至12月期间,公司3位副总裁斯伟波、余勇文、陈浩及董事会秘书被解聘。在此之前的同年8月,监事会点名公司存在“重大亏损及大额减值事项”,要求彻查管理失职与内控漏洞。
从业绩和资产质量看,2023年、2024年,万向信托分别亏损2.03亿元、0.47亿元,两年总计亏损2.5亿元,截至2024年末,其自营不良率达37.71%,不良资产规模44.8亿元。信托资产规模从2023年底的831.25亿,缩水至2024年末的639.32亿元。
鲁伟鼎担任万向信托董事长后,将带领这家信托行至何处?
万向信托迎来新“掌门人”,2024年3位高管被解聘
鲁伟鼎任职资格未获批前,万向信托董事长肖风,曾在博时基金担任职务。2011年加入万向集团,2012年4月起担任万向信托董事长。同时,肖风自2015年起担任浙商基金董事长,至今已有10年时间。随着此次监管新董事长任职资格的获批,意味着万向信托13年来董事长职位首次调整。
担任公司董事长前,鲁伟鼎还兼任万向信托监事长。鲁伟鼎为万向集团创始人鲁冠球之子。鲁伟鼎不仅是万向信托的实控人,也是“万向系”目前的掌门人。
万向信托官网显示,鲁伟鼎现任万向集团党委书记、董事长、首席执行官,中国万向控股有限公司董事长,民生人寿保险股份有限公司董事长、万向三农集团董事长、万向信托监事长。
公开资料显示,1969年,年仅25岁的鲁冠球创办了万向集团,1994年,万向集团核心企业万向钱潮登陆A股,随后,万向德农、承德露露、顺发恒业通过IPO等途径登陆A股市场,至此,“万向系”坐拥4家上市公司。万向信托虽是民营资本控股,但股东来头不容小觑。
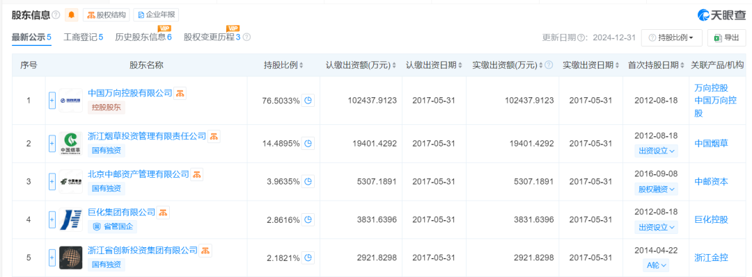
天眼查信息显示,万向信托2012年8月成立,总部位于浙江省杭州市,注册资本13.39亿元。从股权结构看,该公司控股股东为中国万向控股有限公司(下称“万向控股”),持股比例76.5%,其他股东分别为浙江烟草投资管理有限责任公司、北京中邮资产管理有限公司、巨化集团有限公司、浙江省创新投资集团,持股比例分别为14.49%、3.96%、2.86%、2.19%。鲁伟鼎为公司实际控制人,持股比例67.76%。

2024年8月,万向信托第一届监事会第十四次会议提出独立意见,指出公司存在“重大亏损及大额减值事项”,并要求对管理不当或内控缺失等问题追责。两个月后,高管启动调整。
2024年11月至12月,万向信托董事会先后通过决议解聘斯伟波、余勇文、陈浩三位副总裁职务,并解除陈浩董事会秘书职务。其中余勇文与斯伟波自2017年开始担任副总裁、陈浩于2023年8月升任副总裁,同年12月兼任董事会秘书,截至离任前仅一年左右。
2025年1月16日,国家金融监督管理总局浙江监管局核准了王波、李元龙担任万向信托副总裁的任职资格,核准谢赟担任公司董事会秘书的任职资格。三人此前均在万向信托或关联机构任职。
3位独立董事的任职资格也于同日获批。信托公司独立董事的作用及职责,主要监督信托公司依法合规经营,维护受益人权益,保护中小股东权益等。
业绩连降两年,新任高管如何扭转乾坤?
万向信托成立13年来,房地产业务一度超过60%,在地产转型的大背景下,万向信托的风险开始暴露。截至2024年末,万向信托营业收入1.83亿元,较2023年下降37.57%,净亏损4744.73万元,较2023年末的亏损2.03亿元有所收窄。
截至2024年末,该公司信托资产639.32亿元,与2023年末的831.25亿元相比,缩水191.93亿元;其中,信托资产投入到房地产业的金额为286.1亿元,占比44.75%,2023年投入房地产行业的金额为444.44亿元,占比53.47%。
在自营资产质量上,万向信托的问题突出。截至2024年末,该公司自营不良率达37.71%,回顾前两年,2022年及2023年自营不良率分别为68.19%、78.75%。虽然2024年降幅达42.7个百分点,但仍处于高位。
自2023年起,万向信托违约事件不在少数。据《21世纪经济报道》曾报道,多位万向信托投资人反映投资的万向信托产品出现延期停息情况。据了解,万向信托彼时出现延期的产品多达数十个,累计金额或达数十亿。
监管部门2024年2月以来针对部分投资者反映万向信托存在信息披露违规,涉及地产989号、地产980号,以及前期单方面宣布“打折兑付”的基建215号等产品陆续作出回复。
针对万向信托地产989号产品投资人举报的问题,浙江证监局调查后发现,对于该信托计划借款人转移资产逃废债行为,万向信托作为受托人采取了相应措施,但向投资人信息披露不及时,另外,该信托计划“投资标的运行正常”的信息披露与事实不符。
针对基建215号信托计划,万向信托在此前未作出相关垫付说明,也没有提示投资标的风险的情况下,在打折兑付过程中将前期垫付的信托收益进行单方面扣除,引起投资人不满。
浙江监管局3月25日向投资人出具的举报调查意见书显示,针对基建215号信托计划,万向信托曾垫付利息,但没有进行信息披露,存在信披违规。关于清算分配的合同纠纷事项,建议通过司法途径解决。对于该信托计划借款人转移资产逃废债行为,万向信托作为受托人采取了相应措施,但向投资人信息披露不及时,另外,该信托计划“投资标的运行正常”的信息披露与事实不符。
根据2024年万向信托的年报披露,公司各项风险防控工作持续承压,将风险防控和处置作为经营管理的核心任务,调整优化内部组织结构,加强对风险项目的集中管理,有序推进各项风险处置工作。
当前,正值万向信托化解存量风险和探索信托业务转型关键期,此次鲁伟鼎掌舵后,如何进一步化解存量风险,带领万向信托走出差异化发展之路,为公司带来新气象?留言聊聊吧。


评论