文 | 创业最前线 李斌
编辑 | 胡芳洁
今年国庆期间,超头主播李佳琦团队聚焦品牌大促机制谈判的实验类综艺《所有女生的offer》中,PMPM偏偏(下称“PMPM”)以玫瑰精华油二折价的促销策略引发热议,让这个成立仅六年的国货护肤品牌再次站上市场风口。
在美妆行业增速放缓、国际大牌垄断高端市场、国货品牌在中低端激烈竞争的背景下,PMPM凭借一款定价209元/15ml的平价精华油,2020年至2023年创立四年就迅速突破40亿元累计销售额,成为以油护肤赛道现象级黑马。
令人好奇的是,它既没有巨额研发投入,也未自建生产线,却能从快手起步、在抖音爆发,迅速占据市场份额。这究竟是供应链的巧妙布局、对消费者需求的精准把握,还是流量与品牌效应的完美化学反应?
01 没有工厂的全球买手,核心研发人员被挖角
2019年,宝洁品牌部的两位女性——文慈与闪烁,在疫情初期的特殊节点选择创业,成立了上海时垠电子商务有限公司(即PMPM的运营主体,以下简称“时垠集团”)。彼时美妆行业整体承压,市场情绪低迷,但她们却精准锚定了一条细分赛道——以油护肤。
与传统美妆品牌依赖重金投入研发、自建工厂的重资产模式不同,PMPM走出了一条轻资产发展路径:原料通过全球采购获取,生产环节全权交由代工厂完成,自身则聚焦于品牌打造与营销推广。
这一策略在其爆款产品玫瑰精华油上体现得尤为明显。作为PMPM的核心单品,这款定价209元/15ml的平价精华油,推动品牌创立四年就实现累计销售额突破40亿元,助力其成为以油护肤赛道的一匹黑马。
以天猫旗舰店为例,玫瑰精华油当前定价为346元/30ml;双11活动期间,李佳琦直播间推出特别优惠价229元/90ml,相当于原定价的2.2折。目前,该产品在天猫玫瑰精油热销榜中位列第二。

图 / PMPM官方公众号
成分方面,这款玫瑰精华油延续了品牌的X+Y+Z理念,即自然原料X:包括来自法国格拉斯花谷的千叶玫瑰与中国云南丽江的墨红玫瑰的提取物;前沿成分Y:依克多因、多肽等;渗透技术Z:点阵渗透技术。
「创业最前线」通过药监局网站查询产品备案信息发现,该玫瑰精华油主要采用代工生产模式,合作的生产企业包括韵斐诗化妆品(上海)有限公司、上海芮派化妆品有限公司、缇曼生物科技有限公司及美创化妆品研究开发(上海)有限公司,这些代工方与时垠集团不存在交叉股权关系。
在技术研发层面,PMPM采取了先合作再自建的渐进模式。
公开资料显示,品牌成立初期主要通过与原料供应商亚什兰(Ashland)及中国检验检疫科学研究院合作,共同进行原料筛选或产品研发;
直至成立三年后的2022年,PMPM才首次对外公布三位核心研发人员——首席科研官孙培文、首席配方科学家李金华及功效评估及原料负责人廖峰。此时,品牌已经向市场推出过诸多系列产品。

图 / 天眼查
不过,目前只有李金华仍活跃在PMPM台前,孙培文已离职并于2025年2月开始担任珀莱雅首席研发创新官。截止10月23日,PMPM在天眼查网站所公示的专利全部为外观设计专利。
品牌旗下其他产品同样延续了外采原料+委托代工+合作研发的轻资产模式,PMPM近一年已与27家代工厂达成合作。
但正是凭借这套灵活高效的运营体系,PMPM成功吸引了资本的密集关注。

图 / 天眼查
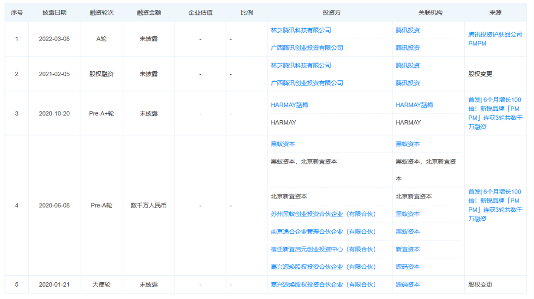
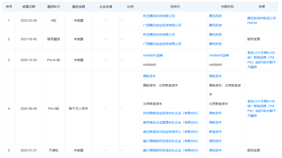
创立不到一年,PMPM便快速完成三轮融资,累计融资金额超1亿元。其股东阵容涵盖专业投资机构(如黑蚁资本、源码资本)、新兴美妆零售机构(如HARMAY话梅),以及互联网巨头旗下投资机构(如腾讯投资)。
HARMAY话梅创始人Will曾公开表示,投资PMPM的核心原因在于创始团队的品牌策划能力——“PMPM的创始团队是‘绝对的品牌主义者’,凭借独特的创意及持续的创意输出能力,让我们相信其能够构建多品牌矩阵”。
事实验证了这一判断:在护肤油这一竞争渐趋激烈的市场中,PMPM作为后来者,不仅追赶了诸多先行品牌,销售额更在短时间内实现突破40亿元的跨越式增长,这背后,离不开凌厉的品牌运营策略支撑。
02 敏捷创新+精准渠道组合拳,精准收割多元年轻客群
尽管在自建研发中心和产能上的步伐相对谨慎,PMPM在品牌推广与产品迭代上却展现出惊人的速度与灵活性。
品牌创始人闪烁曾表示:“消费者的需求变化虽难以完全预判,但当某个趋势初露端倪时,我们的产品往往已经准备就绪。”正是这种对市场风向的敏锐捕捉,让PMPM得以持续立于潮头。
截至10月23日,PMPM已累计推出246个SKU,运用过832种不同的原料。品牌保持每三个月探索一个新地域,并基于当地特色成分开发6至8个新品。通过“小渗透、高增长品类优先切入,再逐步向大市场渗透”的阶梯式打法,PMPM的爆品成功率超过30%。

具体来看,2020年3月,PMPM淘宝店铺刚上线,便率先推出马达加斯加系列产品线,围绕猴面包树籽精华、龙血树精华、积雪草等成分,打造出发光面团涂抹面膜与粉水精华,迅速打开市场;
2020年6-8月,PMPM聚焦布列塔尼海茴香成分,推出清洁泥膜和海棠水乳套装;同年9月,品牌又将目光投向保加利亚,以玫瑰精粹为核心,推出玫瑰红茶精华油、玫瑰红茶涂抹面膜、玫瑰红茶睡眠面膜等一系列爆品。
在市场化推广方面,PMPM采取多渠道协同的策略。
在品牌传播端,PMPM构建了公众号、微博、小红书、抖音等全链路官方阵地;在销售端,品牌全面入驻天猫、抖音、快手、京东等主流电商平台,更是率先登陆美妆集合店HARMAY话梅,后者也是其重要股东。
针对不同渠道,PMPM制定了精细化的运营策略。
微信公众号主要用于传递品牌理念、分享新品动态,强化品牌调性与用户情感连接;
小红书聚焦成分科普与功效宣传,重点合作粉丝量2 - 6万的垂类护肤博主(如77妹儿、彤花笑、楠楠lucky等),通过场景化内容(如医美修复、季节护理、底妆服帖)进行产品种草与用户互动挑战,实现精准触达;

抖音与快手作为高效转化主场,内容以产品测评与直播带货为主。目前,抖音合作达人包括@陈赫、@阿纯是质量测评家、@毛光光等;快手则与@瑜大公子、@蒙安、@我是张凯毅、@榴莲大魔王等头部主播深度联动,实现销售爆发;
微博端借助明星代言深化粉丝经济,肖宇梁相关内容已成为该平台品牌声量的重要来源;
跨界联名方面,PMPM积极与年轻人喜爱的多元品牌展开合作,覆盖茶饮(爷爷不泡茶)、甜品(满记甜品)、IP(小马宝莉)、娱乐(上海欢乐谷)、咖啡(Tims天好咖啡)等场景,持续制造话题热度;
PMPM同样尝试了创始人IP,两位创始人“文慈姐姐Wen”与“闪烁创了业”通过日更内容,分别传递品牌情绪价值与创业故事,强化用户对品牌理念的认同。
通过达人种草引流 + 自播高效转化 + IP沉淀信任的组合策略,PMPM迅速实现规模化增长:2020年上线半年即突破亿元销售额;2023年累计销售额更是迈过40亿元大关。
流量打法让PMPM快速触达用户,但它的真正竞争力,在于对护肤油市场的精准卡位与差异化竞争。
03 以价换量,助力PMPM成细分赛道黑马
在PMPM崭露头角之前,中国护肤油市场早已是红海博弈的战场。
LAN、娇韵诗、佰草集等品牌早已布局多年,林清轩长期专注护肤油赛道,甚至已递交招股书、冲刺IPO,其2024年营收也突破10亿元。不过,林清轩的成立时间比PMPM早了16年。
PMPM的逆势增长,关键在于以价换量与成分升级的双重策略。
Euromonitor 数据显示,目前我国人均化妆品支出只有38美元/年,远远低于日韩英美人均240美元以上的销售额。
另有数据指出,目前中国化妆品量增价减的底层逻辑实际在于低龄消费人口的增加(年轻增量人群,以5年维度看平均600万+低龄增量用户)、人均使用量提升以及消费者库存阶段性影响需求。

当诸多美妆前辈看到人均支出远低于海外水平,纷纷画出宏伟的高端化蓝图时,PMPM已经通过平价策略获得年轻用户真金白银的投票。
目前,核心产品定价仅为国际大牌的五分之一。以爆款玫瑰精华油为例,其346元/30ml的定价,不仅远低于国际竞品(如Sixley黑玫瑰精华油1950元/25ml),更通过持续叠加角鲨烷、重组胶原等高端成分实现加量不加价。
尤其在双11等购物节期间,李佳琦直播间推出的229元/90ml特惠装,直接击穿消费者心理价位。这种平价享受高端成分的策略,精准契合了新生代用户既要效果又要实惠的消费心理。
36氪报道数据显示,为PMPM买单的用户主要为新生代女性消费群体,其中,90后占比80%以上,95后占比65%以上。同时,PMPM用户复购率高达50%,远超行业平均20%的水平,印证了其价格策略的市场穿透力。
此外,PMPM的供应链设计也暗藏玄机。原料全球采买确保品质,代工厂生产降低成本,品牌专注营销与用户沟通。
从抖快起量的护肤油黑马到行业重磅玩家,PMPM的崛起并非偶然。其成功背后,是一套完整的商业逻辑:轻资产模式降低启动门槛,矩阵式流量投放快速触达用户,精准的产品定位与场景化营销解决消费痛点。
但需要注意的是,PMPM并非唯一践行轻资产起量方法论的护肤企业,厦门产业集群也正在用这套方法迅速起量,在线上平台打造爆品神话。
蝉魔方数据显示,2024年1-2月抖音美妆TOP20中厦门白牌占比40%,VC、温博士等品牌单月GMV破亿,4月VC与温博士更是逼近2.5亿。
然而,过度依赖流量投放、营销创意和产品故事的增长方式,是可持续的吗?从2024年下半年开始,厦门帮逐渐降温。
今年上半年,曾在抖音平台红极一时的白牌们如娇润泉、迪士艾普等,几乎在美妆榜单前列消失殆尽,随之而来的是另一批新面孔。
在美妆行业整体承压的当下,PMPM的案例为行业提供了新的思考。当重研发与高成本不再是唯一路径,通过轻资产+精准流量+用户洞察的组合,新品牌同样能够撕开市场缺口,但撕开缺口后能否构建长期主义的生命力、不被后来者赶超,也是PMPM们需要持续考虑的问题。


评论