六月之初,赵丽颖领衔主演的《楚乔传》一经开播,便隐隐有几分爆款的影子:收视率节节攀升再创新高,全网收视达1.4左右,市场份额11.3%,四网登顶同时段全国第一;微博话题不断发酵,热度居高不下,同名话题阅读量23亿,讨论量274万,相关子话题“赵丽颖剑咚林更新”等也都迅速登录微博话题榜,引无数网友热议……当然,一片大好的声音背后,《楚乔传》也不可避免被观众吐槽,身陷“抠图”、“抄袭”、“毒特效”等一系列丑闻中。
作为赵丽颖继《花千骨》之后的又一大女主力作,《楚乔传》自筹备之初便备受关注。近年来,赵丽颖作为小花旦和小鲜肉中的演技派为观众所熟知,《楚乔传》更是在拍摄之初便曝出“赵丽颖为戏狂减肥8斤”的新闻,她的专业和演技毋庸置疑。该剧播出后,网络上对于赵丽颖的演技也是一致好评,更有网友表示,“赵丽颖的演技,让楚乔整个人立了起来,点赞!”

值得一提的是,此次赵丽颖不再是“单人作战”模式:片尾曲字幕联合摄制单位江苏蓝色沸点影视文化有限公司,成立于2015年,法人代表系赵丽颖;剧中饰演反派角色赵西风的金瀚,饰演燕洵随从风眠的王子桀,都是赵丽颖旗下新签约的新人。据不完全统计,这应该是赵丽颖第一次在自己的作品中引入自己的企业和旗下艺人,这恰恰能够表示,《楚乔传》或将开启赵丽颖作为“小赵总”的新时代。
提携旗下艺人,参投多家企业,参与作品联合摄制,赵丽颖能够如愿完成从演员向“小赵总”的华丽蜕变,构建自己的投资版图,成为“下一个杨幂”?
《楚乔传》开启协同作战新模式,赵丽颖要打造“赵家军”?
如今的娱乐圈,早已不是单打独斗的天下,一众80后的小花旦中更是将这一点发挥到了极致:在力捧新人方面,杨幂以绝对的优势稳居第一,在《盛夏晚晴天》、《翻译官》、《我是证人》等影视剧中不遗余力力推新人,如今旗下艺人迪丽热巴、张彬彬等已经可以独当一面,在《克拉恋人》、《亲爱的李慧珍》等影视剧中都有亮眼的表现,今年更是凭借《三生三世十里桃花》热度倍增,跃升为当红流量小花和小花旦,“杨家将”成为娱乐圈中风头正劲的力量,狂揽各大综艺和影视资源。同为四小花旦的唐嫣也不甘其后,在去年的大剧《锦绣未央》中,剧中九公主的扮演者陈钰琪正是其工作室签约艺人。
相比之下,赵丽颖的升级之路则显得稍微滞后,此次在《楚乔传》中选用自己旗下艺人金瀚和王子桀出演更是赵丽颖的首次尝试。金瀚,因轮廓硬朗、眉眼纤长,和林更新略有几分相像,被网友称为“小林更新”,笑容中带有一股邪魅的感觉。此次他在剧中饰演赵氏公子,据网络消息,该人物“为人两面三刀,九幽台上尽显小人嘴脸,后被楚乔削断手指。战斗中,虽然武艺不精,但是他保命的本事很大,被逼入绝境时,也会奋力一搏”。如此来看,似乎和赵丽颖还有不少的对手戏,究竟表现如何,可以期待。其实,这并不是金瀚第一次饰演反派,早在去年的《锦绣未央》中,他就曾饰演大反派叱云南,虽然不少网友表示对他恨得牙痒痒,却仍被颜值圈粉。

王子桀此次在剧中饰演的是燕洵的随从风眠,剧中风眠又称风四爷是燕洵世子的书童兼护卫,和燕洵感情深厚。在此之前,其曾在电影版的《微微一笑很倾城》中饰演美人师兄,完成自己的电影首秀,也曾主持了综艺《王牌对王牌》,但是奈何终究是不温不火。
其实,两人有着极大的相似之处,在《楚乔传》之前,都有自己的作品面世,虽多是配角,但也有自己的知名度。此次跟随小赵总一起出演《楚乔传》,能否复制2015年《花千骨》带火了一众配角的奇迹还尚不可知,但是赵丽颖作为当红小花旦和流量担当,其手握的资源自是不容小觑。
据网络消息显示,近几日公布的赵丽颖主演的新剧《你和我的倾城时光》,金瀚将担任男主角,同时王子桀的角色也在积极推荐中。消息是否属实还有待官宣,若消息属实不难发现,小赵总扶持新人的力度在不断加大,再加上其“颖宝出品,必属佳品”的超高评价,“赵家军”还远吗?相信凭借着小赵总的加持,他们也有希望打开演艺生涯的新天地。
牵手吴奇隆打造投资版图,华丽蜕变“小赵总”?
如果说“演而优则导”是早些年演员的梦想的话,那么如今80后的小花旦们则将目光投向了影视行业的上游产业以及其他娱乐产业中,开始和投资版图挂钩。在三十而立的界线上,她们早早完成了从演员到大BOSS的完美蜕变,坐拥财富的同时也加大了自己的话语权,杨幂、刘诗诗等更是其中翘楚,赵丽颖也不甘其后。
其实,近年来,主演们参投影视剧,越来越常见。据业内人士介绍,这是一个双赢的选择,一方面可以更好地调动演出积极性,毕竟自己参投了作品和自己的利益挂钩,相信那种动辄就用替身、抠图的情况会大量减少;另一方面,当下影视剧成本逐渐走高,动辄单集500万的制作成本让主办方叫苦不迭,演员参投可以分担成本,降低风险。

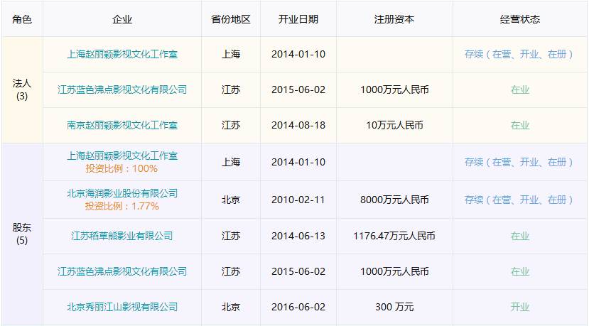
(赵丽颖投资版图)
如果说扶持新人是小赵总的第一步,那么自己旗下的公司参与《楚乔传》的联合摄制则是重磅出击了。《楚乔传》投资2亿左右,在目前动辄4亿的投资中,这个数字可能并不能引起很多人的注意,但是根据“喜剧综艺乐开怀”消息,这部剧却早已大赚:湖南卫视2.58亿买到首轮独播权,但不包含网络端;爱奇艺更是耗资2.69亿买到联播协议;要知道这仅仅是首轮播放权,之后的播出权还将进一步增加收入;再加上之后同名手游的加持,想必数额不容小觑。
此次,赵丽颖的江苏蓝色沸点影视文化有限公司(以下简称蓝色沸点)是作为联合摄制单位出现,据了解,电视剧联合摄制包括主要负责赞助、主办宣传、画册出版等的企业、电视媒体、平面媒体、网络宣传等。虽不清楚其具体承担的是哪一部分业务,但是不难理解,哪怕仅仅是联合摄制方,蓝色沸点也将有一部分可观收入了,必竟巨大体量之下参与者也自然收获颇丰。
娱乐独角兽发现,该公司成立于2015年6月2日,注册资本1000万,经营范围包括电影制作、发行与放映;广播电视节目制作等。查阅资料发现,除了赵丽颖以49%的股份担任该公司法人之外,吴奇隆旗下的江苏稻草熊影业有限公司则是该公司的另一大股东,占到51%的股份。


值得注意的是,吴奇隆是赵丽颖投资版图中特别重要的人物。赵丽颖也曾在采访中提到,吴奇隆是她投资理财路上的导师,两人正式结缘于《蜀山战纪》,不难发现,赵丽颖的一系列投资都发生在该剧拍摄前后。2015年12月22日,赵丽颖在获得刘小枫转让的稻草熊影业1%的股权后,成为稻草熊影业股东,自此开启了其和吴奇隆的投资关联;之后,稻草熊影业出资参股赵丽颖的蓝色沸点,两人的投资版图进一步联系起来。
尤其是2016年3月14日,暴风科技完成对稻草熊影业的收购后,赵丽颖持有暴风科技13.6314万股。只是并购案在6月份遭到了证监会的否定,一夜暴富的梦想也就此打破。去年年底,阿里影业文化产业基金入股稻草熊,开启双方更为密切的合作。稻草熊影业缘从18亿估值到年初的1173万元,虽令人深思,但不得不说,单凭其受到多方资本的热逐便足见其中的价值所在。
除了对外投资,赵丽颖也紧握经纪公司的股份。2015年4月16日,海润影业以1元/注册资本的价格将其90万元出资转让给赵丽颖,同年赵丽颖以141.87万股成为海润影视第14大股东,2016年4月份海润影业挂牌新三板。海润影业作为老牌的影视公司,曾打造大量的爆款,旗下艺人更是涵盖了孙俪、赵丽颖等当红演员,在业内影响不容小觑。
同时,其还是担任上海赵丽颖影视文化工作室的法人;除此之外,赵丽颖还担任北京秀丽江山影视有限公司股东和监事,该公司成立于2016年6月,注册资本为300万元,具体份额尚不可知。
不断扩大自己的投资版图的同时,赵丽颖凭借着诸多的代言成为“新三板”女神,进一步增加自己的霸道总裁感:2016年3月,赵丽颖担任形象代言人的天宏股份在新三板挂牌上市;2016年11月21日,受邀入职一下科技担任副总裁等。
如果说杨幂的投资版图和“杨家将”已经初具规模,那么赵丽颖就还在刚刚起步的阶段,究竟能否如愿蜕变“小赵总”,《楚乔传》尤为重要,目前该剧仅播出8集,虽有爆款的影子,但能否成为下一个“花千骨”助力新人崛起,推动赵丽颖扩大投资版图,还有待观察。
(本文为娱乐独角兽原创独家稿件,未经授权禁止转载!)


评论